39 poulan 446t pro fuel line diagram
Аудиотехника - Полный Список Схем И Документации На Qrz.ru 446. Sony CDP-CA80ES service manual. Yaesu MD-100A8X схема, schematic diagram. 300. 1726. Ламповый усилитель Fender "Pro 5E5". Poulan 446t Pro Fuel Line Diagram - General Wiring Diagram Diagram fuel lines tank primer carbutor poulan pro i have no diagram but here are the instructions on how it goes. Poulan pp446t gas pole pruner 446t poulan pro gas pole pruner pole pruner exploded view parts lookup by model. Plastic fuel lines for small engines will eventually break.
nucleo f446re schematic pdf - Search diagram pdf download. ingersoll parts ingersoll case tractor parts. poulan 446t pro fuel line diagram wordpress com. case garden tractor repower ingersoll. parts catalogue 2014. p0446 ford evap system vent control circuit. nucleo f446re stm32 nucleo 64 development board with.

Poulan 446t pro fuel line diagram
Wiring diagrams for cars - Technical support for auto electrician repair Wiring diagrams, location of elements, decoding fuses. AIR Conditioning, anti-lock brakes, anti-theft, body control modules, computer data lines, cooling fan, cruise control, defoggers, electronic power steering, electronic suspension... Poulan Pro - Outdoor Power Equipment You can find Poulan Pro products both in-store and online at home improvement retailers, hardware stores, and mass merchants all over North America. Poulan Pro designs products that empower you to tackle outdoor tasks with ease. The new CleanScape™ game-changing high tunnel deck design... Poulan 446t pro pole saw manual - Telegraph Read Online >> Read Online Poulan 446t pro pole saw manual. Poulan Pro Pole Pruner Parts The task of tree-trimming is made easy with the assistance of a Poulan pole pruner or pole saw. Manuals, Care Guides We have the genuine Poulan parts and diagrams you need to get your outdoor power...
Poulan 446t pro fuel line diagram. Fuel line diagram for poulan 446T pole pruner - Fixya Jimmy there are no Poulan drawings with fuel system detail worth the ink it takes to print them, but that is all there is. Fuel Line Replacement by I have an earlier model of Poulan Pro Pruner with a similar problem. It is a PP258 and looks identical to the 446T. My unit had about 3 hours of use max.This was... Caterpillar Diesel Marine Engines PDF manuals free download Pro-Line. 1.3Mb. Download. CATERPILLAR GAS ENGINE 3516 Schematic DIAGRAM.pdf. 1.3Mb. Download. Troubleshooting the Caterpillar 3116 Fuel System [DOC, ENG, 290 KB].docx. Cooling System; Seasonal Storage; Fuel System Storage... | ManualsLib Poulan Pro PP3516AVX Manual Online: cooling system, Seasonal Storage, Fuel System Storage, Engine Storage. its during storage. Add stabilizer to the gaso-. line in the fuel tank or fuel storage container. Follow the mix instructions found on stabiliz Pp446et Fuel Line Diagram Pp446et Fuel Line Diagram ! pp446et parts View the latest news and breaking news today. › Get more: Poulan pro pp446et carburetorDetails Post. How to Replace Fuel Lines on Two Cycle/Two Stroke …
Poulan 446t Pro Fuel Line Diagram - Free Catalogs A to Z Category: Pp446et fuel line diagram Show details. Poulan Pro PP 446 T - Poulan Pro Pole Saw Engine Assembly. 512-288-4355Just Now Engine Assembly diagram and repair parts lookup for Poulan Pro PP 446 T - Poulan Pro Pole Saw Order Status Customer Support 512-288-4355 My... PDF Poulan 446t Pro Fuel Line Diagram Diagram fuel lines tank primer carbutor poulan pro Gas line with filter broke inside tank how to How do i adjust the walbro carb on a 446t poulan? Craftsman 20442 Pro Series front-left mower deck "corner". Started by craftsman, diagram, manual, model, ope, owners manual, sears, sears. En uygun fiyatlı poulan 446t pro parts: AliExpress uygulamasında... 2022 yılında poulan 446t pro parts ve Ilgili arama, Sıralama anahtar kelimeleri ile için popüler Ilgili arama, Sıralama anahtar kelimeleri trendleri. Hem kaliteli markaları hem de büyük indirimler sırasında poulan 446t pro parts ürünlerinde akıl almaz indirimleri bulacaksınız. Poulan 446t Pro Fuel Line Diagram - Wiring Diagram Database Poulan pro gas trimmer fuel primer bulb line routing question see diagram so for my first post i was hoping that someone can confirm or deny my routing After replacing all fuel lines on my poulan pro 446t pole sawtrimmer it now will start but it will not continue to run. Need a fuel line diagram for...
180 Scania Trucks Service Manuals Free Download - Truck manual... 446.5Mb. Draining the fuel tank.pdf. 225.2kb. Download. Scania DC13 - Fuel System- PDF Installation Manual.pdf. 1.6Mb. Download. Poulan Pro Weed Eater Fuel Line Routing Pdf Free Poulan Pro Weed Eater Manual - Sherborn.m.wickedlocal.com Dec 03, 2021 · Poulan Pro Trimmer Line .080 Trimmer Line - 100' Keep Your Lawn Edges Need A Drive Belt Diagram For Exmark Lazer Z. Weed Trimmer As Husqvarna Gas Eater 223l Fuel Line Diagram Eaters Shaft Shroud Husqvarna... Obsolete poulan saw parts||. ||poulan 255pro fuel line routing for poulan 2150. poulan 3100 chainsaw fuel ratio. poulan pro trimmer 446 carb diagram. poulan mowers ratings 16 5. poulan pro linc ppb 250e fuel line installation. poulan weedeater xr 20 replacement spool. poulan chainsaw sales in beaumont tx. Poulan 446t Pro Fuel Line Diagram pulley setup for old stateman... Poulan Pro GasTrimmer Fuel Primer Bulb Line Routing Question Thursday, October 1014 / php?t=254610. PoulanPro Fuel Line Diagram For Blower Poulan Chainsaw Fuel Line.DiagramPoulan Wild Thing Fuel Line DiagramPoulan 446T Pro FuelLine Diagram.
Poulan Pro PP446 Trimmer Instruction manual | OnlineFreeGuides.com The Asus Poulan Pro PP446 document found is checked and safe for using. Download for free or view this Poulan Pro PP446 Instruction Manual online on OnlineFreeGuides.com. View online or download PDF Instruction manual for Poulan Pro Trimmer PP446 for Free.
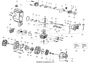
Download 446 Diagram - Full Poulan 446t Pro Fuel Line Diagram WordPress Com. Case 446 Wiring SSB Tractor. Case / Ingersoll Garden Tractors Parts Manuals. PP 446 T - Poulan Pro Pole Saw Parts Diagrams (4) Hide Engine Assembly. Handle Pole Pruner Shaft Assembly. Oil Tank Bar Clamp Assembly.
Poulan Pro Trimmer | PP446T | eReplacementParts.com Need to fix your PP446T Pro Trimmer? Use our part lists, interactive diagrams, accessories and expert repair advice to make your repairs easy. Poulan PP446T Pro Trimmer Parts. I have a poulon 446t pole trimmer and the fuel pick up assembly inside the gas tank broke off from the fuel line.
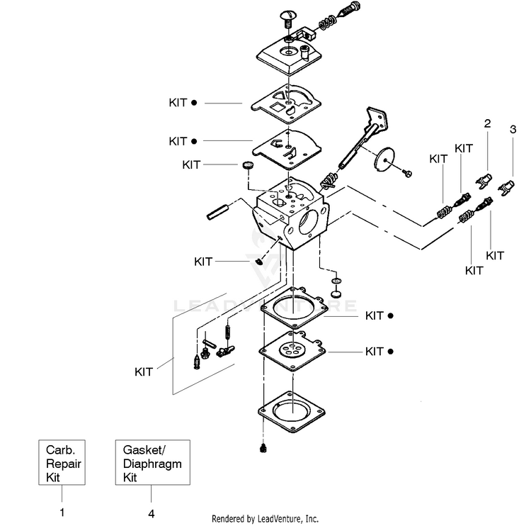
PDF Poulan Pro Pp445 Weed Eater Repair Manual I added the basic fuel line diagram from that previous answer in the.My Poulan Trimmers (P) fuel lines cracked and I replaced the entire fuel tank with a new one. PP446 Gas Pole Pruner, Pole Pruner PP446, ... Poulan Pro Gas Trimmer Type 1. PPB300E Gas Trimmer Type 2, 300E - Poulan...
Poulan 446t pro pole saw manual - Telegraph Read Online >> Read Online Poulan 446t pro pole saw manual. Poulan Pro Pole Pruner Parts The task of tree-trimming is made easy with the assistance of a Poulan pole pruner or pole saw. Manuals, Care Guides We have the genuine Poulan parts and diagrams you need to get your outdoor power...
Poulan Pro - Outdoor Power Equipment You can find Poulan Pro products both in-store and online at home improvement retailers, hardware stores, and mass merchants all over North America. Poulan Pro designs products that empower you to tackle outdoor tasks with ease. The new CleanScape™ game-changing high tunnel deck design...
Wiring diagrams for cars - Technical support for auto electrician repair Wiring diagrams, location of elements, decoding fuses. AIR Conditioning, anti-lock brakes, anti-theft, body control modules, computer data lines, cooling fan, cruise control, defoggers, electronic power steering, electronic suspension...

WT-875 Carburetor for Craftsman 358794650 25Cc 210Mph / 450 358794600 25Cc 200 Mph / 430 Cfm Gas Blower Poulan

Fuel Li 545081855 Carburetor for Poulan Pro BVM200C P200C Husq GBV325 P325 Craftsman 25Cc Blower Walbro WT-875A Carb with 545116801 Air Filter Tune-Up ...

Kizut WT-875 Carburetor for Craftsman Poulan Blower BVM200VS BVM200C P200C Pro PP320 P325 GBV325 PPB1838LE PL855 Weedeater WT-875A 545081855 Carb w ...
0 Response to "39 poulan 446t pro fuel line diagram"
Post a Comment