Iklan 300x250

39 silverado rear view mirror wiring diagram

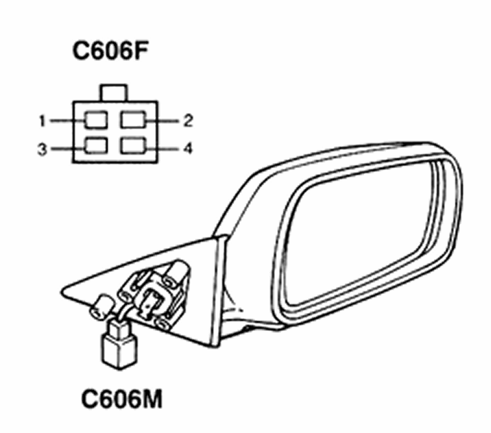
Power Mirror Wiring Diagram Chevrolet. 02 power mirrors on a 97 wiring help blazer forum chevy forums what are all 5 wires for in mirror 2000 2500 silverado only three according to my test light diagram side turn signal blindspot connector gm buick cadillac olds gmc pontiac chat 04 2500hd street source rear view pin outs and sierra puddle lamp ... 2015 Gm Rear View Mirror Wiring Diagram | Wiring Diagram - Silverado Rear View Mirror Wiring Diagram By Hadir | Published February 17, 2019 | Full size is 1000 × 816 pixels ← Back To Article

This video demonstrates the Chevrolet Silverado Complete Wiring Diagrams and details of the wiring harness. Diagrams for the following systems are included ...

Silverado rear view mirror wiring diagram

Silverado rear view mirror wiring diagram

General Tech - Rear View Mirror Wiring - I have a 2013 4WD Silverado with OnStar, HomeLink and Auto dimming mirror. Re: OnStar and Rear View Mirror Wiring (Diagrams Needed) Post by star_deceiver » Thu Oct 03, 2013 11:06 pm As I recall, the black box under the front right of the drivers seat is used for the stabilitrack system. 2003 Chevy Silverado Power Mirror Wiring Diagram. Wires for in a power mirror 02 mirrors on 97 wiring help turn signal heated conversion need with tow rear view pin outs chevy diagram gm. What Are All 5 Wires For In A Power Mirror On 2000 2500 Silverado Only Three According To My Test Light.

Silverado rear view mirror wiring diagram. Chevy Silverado 1999-2005, Chevy Suburban 2000-2005, Chevy Tahoe 2000-2005, Cadillac Escalade ... Connect the Signal® mirror to the wiring harness plug. If heated, reconnect the heater wires to the heater terminals on the ... you have not located the rear turn wire. Label that wire as front, DRIVER SIDE TURN. Silverado Rear View Mirror Wiring Diagram Gallery. silverado rear view mirror wiring diagram - What's Wiring Diagram? A wiring diagram is a kind of schematic which utilizes abstract photographic symbols to reveal all the affiliations of parts in a system. Electrical wiring representations are made up of two things: symbols that stand for the elements in the… Anyone Having Problems Seeing Correctly With Split View Side Mirrors Chevrolet Forum Chevy Enthusiasts Forums. Wires for in a power mirror rear view pin outs chevy tow mirrors 07 13 silverado 02 on 97 wiring help gmc yukon denali 2008 light 2018 puddle lamp truck forum how to install dl3 diagram side turn tap hhr network gntx 511 anyone got wirign do you have wire 2005 1 2 folding split ford ... 2012 Gmc Acadia Rear View Mirror Wiring Diagram. GMC Acadia/Acadia Denali Owner Manual M. In Brief. .. mirrors. See Power Mirrors on page 2‑16 for more information. Not all vehicles will have . See Automatic Dimming Rearview. How To Remove The Rear View Mirror Gmc Yukon Denali Chevy Silverado avalanche. YouTube.

I just obtained an oem rear backup camera pulled from a salvage 2012 silverado and would like to install this in my 2013 sierra sle and use the rear view mirror monitor. Backup camera installation guide. 2005 Silverado Trailer Wiring Diagram New In 2020 Trailer Wiring Diagram Diagram Trailer Light Wiring This programmer will enable … i am looking for a 2008 silverado rearview mirror wiring diagram and/or color code description. There are two pink and two green/white wires on each end that I don''t know which goes to which. I also wired all and could not get the compass or the thermometer to display. DOWNLOAD. Wiring Diagram Pics Detail: Name: silverado rear view mirror wiring diagram - Silverado Factory Camera Wiring Audio Electronics star Posted Image Rear View Mirror Diagram Full. File Type: JPG. Source: mainetreasurechest.com. Size: 217.89 KB. Dimension: 1360 x 960. DOWNLOAD. Wiring Diagram Pics Detail: I'm seeking a pin out or wiring diagram for the harness that plugs into the back of our rear view mirror. My car is a 2017, ...

2003 Chevy Silverado Mirror Wiring Diagram. November 19, 2020 1 Margaret Byrd. 0. Wires for in a power mirror 02 mirrors on 97 wiring help rear view pin outs chevy 04 2500hd street source tap hhr network turn signal heated conversion. What Are All 5 Wires For In A Power Mirror On 2000 2500 Silverado Only Three According To My Test Light. 2008 Silverado Rear View Mirror Wiring Diagram | Wiring Library - Silverado Rear View Mirror Wiring Diagram. Wiring Diagram arrives with numerous easy to follow Wiring Diagram Instructions. It is intended to help each of the common user in creating a correct system. These instructions will likely be easy to comprehend and use. anyone know where I can get a wiring diagram for the rear view mirror (non-auto dimming)? I'm trying to locate the accessory wire. Edit: many, many previous video creators show how to fix it step by step. Mine wasn't an attempt to explain it for dummies, only that it could be done/is the...

Chevy Tow Mirror Wiring Diagram | TopGearAutosport.com

Chevy Tow Mirror Wiring Diagram | TopGearAutosport.com

Results 1 - 48 of Chevy Silverado Rear View Mirror Manual Dim OnStar MD Silverado Tahoe Rear View Mirror Compass Temp Auto Dim Rearview OEM GNTX .. Announcement VIEW MIRROR WIRING COVER (Fits: More than one vehicle) - CHEVY SILVERADO / GMC SIERRA.Step 5, Look at your mirror and locate the wires coming out of the FIRST and SECOND spots, if you ...

I just picked up some" Big Tex" mirrors for my 2001 ...

I just picked up some" Big Tex" mirrors for my 2001 ...

mirror button will have to be replaced with one that is compatible with the Gentex mirror, i.e. Fords built prior to 1996. If you need information concerning one of our Gentex adapter plates or a mirror button kit, please contact your Gentex mirror retailer.

33 Chevy Rear View Mirror Wiring Diagram - Wiring Diagram ...

33 Chevy Rear View Mirror Wiring Diagram - Wiring Diagram ...

I need a wiring diagram for a 2004 chevrolet z71 tahoe rear view mirror with compass, autodim, and onstar. I need to find the power and the ground in the module that plugs into the back of the mirror. … read more

Gentex Mirror Wiring Diagram in 2021 | Freightliner ...

Gentex Mirror Wiring Diagram in 2021 | Freightliner ...

Removing the OEM Rear View Mirror. • clearance to . Check the inline fuses of the wiring harness; replace if fuse is blown (a blown fuse indicates a short in. I am looking for a silverado rearview mirror wiring diagram and/or with temp/compass and switches for phone onStar and emergency.

Silverado Rear View Mirror Wiring Diagram

Silverado Rear View Mirror Wiring Diagram

Chevy Tow Mirror Wiring Diagram. 2014-2018 Chevy Silverado / GMC Sierra. Hot (+) Ground (-) LED Daytime Running Lights. Blue. Black White. LED Rear Guidance Lamps. White.

HUMMER H2 SILVERADO SIERRA 1999-2006 REAR VIEW MIRROR ...

HUMMER H2 SILVERADO SIERRA 1999-2006 REAR VIEW MIRROR ...

2019-2021 Silverado & Sierra ; ... Video Rear View Mirror - Wiring Diagram Needed Sign up for FREE! Become a GM-Trucks.com Member Today! In 20 seconds you can become part of the worlds largest and oldest community discussing General Motors, Chevrolet and GMC branded pickups, crossovers, and SUVs. From buying research to owner support, join 1.5 ...

2002 Chevy Silverado Gentex 177 Mirror Wiring Diagram

2002 Chevy Silverado Gentex 177 Mirror Wiring Diagram

Mine is for a 2013 Sierra with onstar and the reverse camera in the mirror. I was just wondering if any of y'all had a wiring diagram or a list ...

Chevrolet Silverado 1500 How to Install Rearview Back Up ...

Chevrolet Silverado 1500 How to Install Rearview Back Up ...

Spark plug wiring diagram for 98 tahoe car is missing need to know which wire goes were. You didn't post your engine size so please pick the applicable diagram: 1996-98 4.3L Engines Firing Order: 1-6-5-4-3-2Distributor Rotation: Clockwise. 1996-98 5.0L, 5.7L and 7.4L Engines Firing Order: 1-8-4-3-6-5-7-2Distributor Rotation: Clockwise.

34 Chevy Rear View Mirror Wiring Diagram - Wiring Diagram List

34 Chevy Rear View Mirror Wiring Diagram - Wiring Diagram List

Onstar Mirror Wiring Diagram, Ford Wiring Diagrams as well Replace as well Gm Homelink Wiring Diagram in addition 45dj1 Find Wiring Diagram Bose System 04 Chevy Tahoe additionally 3e4zw According Silverado Test Light A 03 06 Tow Extendable Mirror. together with escalade rear view mirror wiring furthermore ford rear view mirror wiring.wiring ...

Silverado Rear View Mirror Wiring Diagram - Hanenhuusholli

Silverado Rear View Mirror Wiring Diagram - Hanenhuusholli

Silverado Rear View Mirror Wiring Diagram. Assortment of silverado rear view mirror wiring diagram. A wiring diagram is a simplified conventional photographic representation of an electrical circuit. It shows the parts of the circuit as streamlined shapes, and also the power and signal links in between the devices. A wiring diagram typically provides info regarding the…

Wiring Diagram For Backup Camera

Wiring Diagram For Backup Camera

This is a copy and paste from a post i made on dp a couple years ago after I re wired a set of 02 mirrors to fit my 03. Because the 01-02 mirrors connect at the base of the mirror and the 03+ mirrors connect at the panel on the door handle I cut the excess harness from the my stock mirrors and removed the end of the harness from the 02 tow mirrors and and wired them together as follows:

2002 Chevy Silverado Gentex 177 Mirror Wiring Diagram

2002 Chevy Silverado Gentex 177 Mirror Wiring Diagram

What is the wiring diagram for a rear view mirror? My rear view mirror has compass auto dimming. Chevrolet rear view mirror wiring diagram. I need to find the power and the ground in the module that plugs into the back of the mirror. Posted by anonymous on jan 07 2012. Power adjustfoldturn signaldefrosterand auto dim i installed these mirrors left.

2003 Chevy Silverado Rear View Mirror Wiring Diagram ...

2003 Chevy Silverado Rear View Mirror Wiring Diagram ...

4.3" high resolution 16:9 LCD screen Auto select reverse camera display Auto brightness LCD Dual video inputs Auto switching PAL | NTSC Special Mounting Brackets for General Motors Designed to replace factory rear view mirror Ultra-high brightness Display OnStar Services-Empowering you to stay connected to your world.

32 Gm Rear View Mirror Wiring Diagram - Wiring Diagram ...

32 Gm Rear View Mirror Wiring Diagram - Wiring Diagram ...

Silverado rear view mirror wiring diagram collections of fuse box diagram silverado rear view mirror wiring diagram 2009 gmc. Any user assumes the entire risk as to the accuracy and use of this information. What is the wiring diagram for a rear view mirror? My rear view mirror has compass auto dimming. Chevrolet rear view mirror wiring diagram.

2003 Chevy Silverado Power Mirror Wiring Diagram - Wiring ...

2003 Chevy Silverado Power Mirror Wiring Diagram - Wiring ...

Hey guys i finally picked up a comp/temp rear view mirror for my truck, however i pulled it from an 05 HD, and its got the passenger air bag display thing on it. My buddy has an 01 just as i do, and hes got a long narrow 7 pin plug on it. Stuffed in my headliner is that same plug. However with the mirror i bought its that big bulky 16 pin plug.

[EZ_4550] 2003 Chevy Tow Mirror Wiring Diagram Wiring Diagram

[EZ_4550] 2003 Chevy Tow Mirror Wiring Diagram Wiring Diagram

Everything Electrical & Electronic - rear view mirror wiring diagram - I picked up an auto dimming rear view mirror at the junk yard today.

2011 silverado 1500 5.3 rear view mirror, onstar, back up ...

2011 silverado 1500 5.3 rear view mirror, onstar, back up ...

2003 Chevy Silverado Power Mirror Wiring Diagram. Wires for in a power mirror 02 mirrors on 97 wiring help turn signal heated conversion need with tow rear view pin outs chevy diagram gm. What Are All 5 Wires For In A Power Mirror On 2000 2500 Silverado Only Three According To My Test Light.

Silverado Rear View Mirror Wiring Diagram - Cadician's Blog

Silverado Rear View Mirror Wiring Diagram - Cadician's Blog

Re: OnStar and Rear View Mirror Wiring (Diagrams Needed) Post by star_deceiver » Thu Oct 03, 2013 11:06 pm As I recall, the black box under the front right of the drivers seat is used for the stabilitrack system.

35 Silverado Rear View Mirror Wiring Diagram - Wiring ...

35 Silverado Rear View Mirror Wiring Diagram - Wiring ...

General Tech - Rear View Mirror Wiring - I have a 2013 4WD Silverado with OnStar, HomeLink and Auto dimming mirror.

MISS SWISS helps makeup wearers with glamour on the go no matter where their travels take them. The MISS SWISS makeup case was created from a personal purse catastrophe. It helps you apply your makeup easily on the go, prevents your makeup from spilling, and to prevent your makeup from getting lost. It is the perfect something blue for your wedding day. Touching up your makeup after your ceremony or between photos is a breeze.

MISS SWISS helps makeup wearers with glamour on the go no matter where their travels take them. The MISS SWISS makeup case was created from a personal purse catastrophe. It helps you apply your makeup easily on the go, prevents your makeup from spilling, and to prevent your makeup from getting lost. It is the perfect something blue for your wedding day. Touching up your makeup after your ceremony or between photos is a breeze.

| Repair Guides | Mirrors (2007) | Outside Rearview Mirror ...

| Repair Guides | Mirrors (2007) | Outside Rearview Mirror ...

Silverado Rear View Mirror Wiring Diagram - Free Wiring ...

Silverado Rear View Mirror Wiring Diagram - Free Wiring ...

Chevrolet Rear View Mirror Wiring Diagram - Wiring Diagram

Chevrolet Rear View Mirror Wiring Diagram - Wiring Diagram

Silverado Rear View Mirror Wiring Diagram

Silverado Rear View Mirror Wiring Diagram

Mirror Lake

Mirror Lake

32 Gm Backup Camera Wiring Diagram - Wiring Diagram Database

32 Gm Backup Camera Wiring Diagram - Wiring Diagram Database

2002 Chevy Silverado Gentex 177 Mirror Wiring Diagram

2002 Chevy Silverado Gentex 177 Mirror Wiring Diagram

SilveradoSierra.com • Rear view Mirror Pin Outs : Mobile ...

SilveradoSierra.com • Rear view Mirror Pin Outs : Mobile ...

Chevrolet Rear View Mirror Wiring Diagram - Wiring Diagram

Chevrolet Rear View Mirror Wiring Diagram - Wiring Diagram

Where can I tap reverse for camera? | Chevy Truck Forum ...

Where can I tap reverse for camera? | Chevy Truck Forum ...

35 Silverado Rear View Mirror Wiring Diagram - Wiring ...

35 Silverado Rear View Mirror Wiring Diagram - Wiring ...

this photo was taken for a photography competition (amateur) with a theme ‘Reflection’.

this photo was taken for a photography competition (amateur) with a theme ‘Reflection’.

Tunnel View on a cloudy afternoon

Tunnel View on a cloudy afternoon

2007 Chevy Silverado Mirror Wiring - Cars Wiring Diagram

2007 Chevy Silverado Mirror Wiring - Cars Wiring Diagram

96 Silverado Mirror Wiring Diagram - Wiring Diagram Networks

96 Silverado Mirror Wiring Diagram - Wiring Diagram Networks

2002 Chevy Silverado Gentex 177 Mirror Wiring Diagram

2002 Chevy Silverado Gentex 177 Mirror Wiring Diagram

35 Silverado Rear View Mirror Wiring Diagram - Wiring ...

35 Silverado Rear View Mirror Wiring Diagram - Wiring ...

20 New Silverado Rear View Mirror Wiring Diagram

20 New Silverado Rear View Mirror Wiring Diagram

Silverado Rear View Mirror Wiring Diagram - Hanenhuusholli

Silverado Rear View Mirror Wiring Diagram - Hanenhuusholli

0 Response to "39 silverado rear view mirror wiring diagram"

Post a Comment

Iklan Atas Artikel

Iklan Tengah Artikel 1

Iklan Tengah Artikel 2

Iklan Bawah Artikel