Iklan 300x250

41 john deere 190c belt diagram

John Deere Parts Diagrams, John Deere 190C Tractor (With ... Buy Genuine OEM John Deere parts for your John Deere 190C Tractor (With 54-IN Mower Deck) Material Collection System -PC9539 and ship today! Huge in-stock inventory of OEM John Deere parts. John Deere 190C Parts Diagrams - Jacks Small Engines John Deere 190C Parts Diagrams. Parts Lookup - Enter a part number or partial description to search for parts within this model. There are (2) parts used by this model. Kit includes steering sector gear, sector gear bushing, sector gear bolt, pinion gear, and 2 steering shaft bushings (plastic).

John Deere Parts Diagram & Parts Search • John Deere Parts ... John Deere AG, Lawn & Garden and CWP Equipment Parts Search. John Deere parts lookup tool and diagram is an incredible online source. It is a complete catalog that shows you detailed parts diagrams of every part of your machine. This online parts catalog is robust and easy to use. Searching for your John Deere parts online has never been easier.

John deere 190c belt diagram

John deere 190c belt diagram

John Deere 54" LA150-190C-G110 Deck Parts Diagram John Deere LA150-190C-G110 54" Deck Parts Diagram with original John Deere Parts and easy to use parts look-up John deere belt diagram for 54 inch 190c - Ask Me Help Desk We have a john deere saber lawn mower 15.5 with a 42 inch deck. Need to replace belt and need a belt diagram to put the new one back on. Can't find any belt diagrams on here. E066 161706M John Deere 1970 110 garden tractor I need the routing diagram and there is only pulley on the mower deck on the right side. Schematics for a 54" john deere 190c belt - Ask Me Help Desk Schematics for a 54" john deere 190c belt. I need to install the mower belt for a 54 inch deck of a John Deere 190c, I need the schematics / diagram for it please. Visit crigby's homepage!

John deere 190c belt diagram. ARIMain - WEINGARTZ Find parts for your john deere belt drive & idlers: power train gu20428 with our free parts lookup tool! Search easy-to-use diagrams and enjoy same-day shipping on standard John Deere parts orders. 855-669-7278 ... John Deere 190C Tractor (With 54-IN Mower Deck) 44-IN 2-Stage Snowblower -PC9539 BELT DRIVE & IDLERS: POWER TRAIN GU20428 ... John Deere 102 115 125 135 145 155c 190c Lawn Garden ... JOHN DEERE 102 115 125 135 145 155C 190C LAWN TRACTOR . JOHN DEERE 102 115 125 135 145 155C 190C LAWN GARDEN TRACTOR repair manual & service manual is in pdf format so it will work with computers including WIN, MAC etc.You can Easily view, Navigate, print, Zoom in/out as per your requirements. We accept Paypal and All Credit Cards. John Deere V-Belt LG58-790 V-Belt - V-BELT, 2/3" X 79": Find parts & diagrams for your John Deere equipment. ... V-BELT, 2/3" X 79": Find parts & diagrams for your John Deere equipment. Search our parts catalog, order parts online or contact your John Deere dealer. ... 48 in. deck Maintenance Reminder Sheet - 190C Lawn Tractor - 54 in. deck Maintenance Reminder Sheet ... TractorData.com John Deere 190C tractor information John Deere 190C tractor overview. ©2000-2021 - TractorData™. Notice: Every attempt is made to ensure the data listed is accurate.

Quick Parts Model Guide for John Deere Parts 190C Lawn ... The only deck size that was manufactured for the John Deere 190C lawn tractor was a 54″ mower deck. This quick parts reference guide will provide you with the most common needed parts for your John Deere 190C lawn tractor. This includes tune up parts, blades, belts and filters for your John Deere 190C Lawn Tractor with 54″ Mower Deck. John Deere 190C Lawn Tractor Parts - Weingartz CALL US AT (855) 669-7278. John Deere 190C Lawn Tractor Parts 54 Mower Deck Quick Reference Guide. Click the part number below to view and order John Deere 190C Lawn Tractor Parts 54 Mower Deck, or search illustrated diagrams to determine the part you need. Fits On: Z300 Series. Get Free John Deere Mower Deck ... John deere 48c deck parts diagram get wiring sle48 inch mower for 155c john deere 757 777 60 mulch on demand mower deck parts diagram john deere parts diagrams x320 tractor select i have a deere x320 and am trying to replace the traction drive belt change mower deck for john x300 310 john deere 997 60 mower John deere mower deck pulleys keyword ... 190C - John Deere No information is available for this page.Learn why1 page

Exploded Parts Diagrams for John Deere - MalpasOnline.co.uk Exploded Parts Diagrams for John Deere. Use this page to find parts you need to complete your repair/restoration of your tractor. Whether it is a vintage or a modern tractor you should be able to identify the part by make and application. Once you have found the part on a diagram click on the part number listed in the table below the diagrams. John Deere Model 190C Lawn Tractor Parts - GreenPartStore John Deere 23x10.50-12 Single-Ring Tire Chain Set - TY15956. (2) $141.66. Usually available. Add to Cart. Quick View. John Deere 42-lb Quick-Tach Suitcase Weight - UC13263. ARIMain - Weingartz John Deere Parts Lookup -190C Tractor (With 54-IN Mower Deck) Material Collection System -PC9539. 855-669-7278. John Deere V-BELT N31437 V-Belt - BELT FAN GEAR CASE DRIVE: Find parts & diagrams for your John Deere equipment. Search our parts catalog, order parts online or contact your John Deere dealer. ... 48 in. deck Maintenance Reminder Sheet - 190C Lawn Tractor - 54 in. deck Maintenance Reminder Sheet - 316 Lawn Tractor - 48 in. deck Maintenance Reminder Sheet - 316 Lawn ...

Affordable Parts New Deck Belt for John Deere 54

Affordable Parts New Deck Belt for John Deere 54" Deck 190C D170 E180 G110 LA150 LA175 Tractors Replaces GX21395

54-inch Mower Deck Parts for 190C - GreenPartStore Click here for 54-inch Mower Deck Parts for 190C; Click here for 54-inch Mower Deck Parts for 190C

How do you route the belt from the mower to the engine on a ...

How do you route the belt from the mower to the engine on a ...

John Deere Parts190C Lawn Tractor - John Deere Parts Direct The only deck size that was manufactured for the John Deere 190C lawn tractor was a 54″ mower deck. This quick parts reference guide will provide you with the most common needed parts for your John Deere 190C lawn tractor. This includes tune up parts, blades, belts and filters for your John Deere 190C Lawn Tractor with 54″ Mower Deck.

John Deere 190C Tractor (With 54-IN Mower Deck) 44-IN 2-Stage ...

John Deere 190C Tractor (With 54-IN Mower Deck) 44-IN 2-Stage ...

I have a john Deere 190c lawn tractor with a ... - JustAnswer I have a Deere 190c lawn tractor with a 54" Deck. I need the mower deck diagram to see how the belt is routed. Thank you - Answered by a verified Technician

John Deere 54

John Deere 54" genuine OEM deck belt GX21395 FOR D170, G110, LA150, LA175, 190C

8TEN Deck Belt for John Deere LA150 D170 G110 190C LA175 ... Affordable Parts New Deck Belt for John Deere 54" Deck 190C D170 E180 G110 LA150 LA175 Tractors Replaces GX21395 4.6 out of 5 stars 105 1 offer from $33.98

700329-5 } Subframe & Drive Mechanism for JOHN DEERE 115, 125 ...

700329-5 } Subframe & Drive Mechanism for JOHN DEERE 115, 125 ...

Schematics for a 54" john deere 190c belt - Ask Me Help Desk Schematics for a 54" john deere 190c belt. I need to install the mower belt for a 54 inch deck of a John Deere 190c, I need the schematics / diagram for it please. Visit crigby's homepage!

Do you have a diagram to reinstall the mower deck drive belt ...

Do you have a diagram to reinstall the mower deck drive belt ...

John deere belt diagram for 54 inch 190c - Ask Me Help Desk We have a john deere saber lawn mower 15.5 with a 42 inch deck. Need to replace belt and need a belt diagram to put the new one back on. Can't find any belt diagrams on here. E066 161706M John Deere 1970 110 garden tractor I need the routing diagram and there is only pulley on the mower deck on the right side.

belt diagram for john deere l120,New daily offers,klasgrup.net

belt diagram for john deere l120,New daily offers,klasgrup.net

John Deere 54" LA150-190C-G110 Deck Parts Diagram John Deere LA150-190C-G110 54" Deck Parts Diagram with original John Deere Parts and easy to use parts look-up

John Deere 190C Specs, Price, Reviews, Attachments 2022

John Deere 190C Specs, Price, Reviews, Attachments 2022

My Deere lawn mower tractor w/54 inch cutting deck just ...

My Deere lawn mower tractor w/54 inch cutting deck just ...

John Deere Parts Diagrams, John Deere 190C Tractor (With 54 ...

John Deere Parts Diagrams, John Deere 190C Tractor (With 54 ...

NEED DRIVE BELT DIagram for drive belt on a john deere f525 ...

NEED DRIVE BELT DIagram for drive belt on a john deere f525 ...

John Deere 190C Tractor (With 54-IN Mower Deck) Material ...

John Deere 190C Tractor (With 54-IN Mower Deck) Material ...

John Deere 190C Tractor (With 54-IN Mower Deck) 46-IN Snow ...

John Deere 190C Tractor (With 54-IN Mower Deck) 46-IN Snow ...

Amazon.com : John Deere Original Equipment V-Belt #LVU21854 ...

Amazon.com : John Deere Original Equipment V-Belt #LVU21854 ...

Gravely 515121 32

Gravely 515121 32" Deck Cutting Improvement ZT Series Parts ...

Belt Routing Charts | Green Tractor Talk

Belt Routing Charts | Green Tractor Talk

John Deere Parts Diagrams, John Deere 190C Tractor (With 54 ...

John Deere Parts Diagrams, John Deere 190C Tractor (With 54 ...

Need routing diagram for installing mower deck belt on John ...

Need routing diagram for installing mower deck belt on John ...

SOLVED: How to replace belt on john deere 425 - Fixya

SOLVED: How to replace belt on john deere 425 - Fixya

John Deere 190C Tractor (With 54-IN Mower Deck) Material ...

John Deere 190C Tractor (With 54-IN Mower Deck) Material ...

Replacement Parts New Replacement DRIVE BELT For JOHN DEERE ...

Replacement Parts New Replacement DRIVE BELT For JOHN DEERE ...

John Deere 190C Tractor (With 54-IN Mower Deck) Material ...

John Deere 190C Tractor (With 54-IN Mower Deck) Material ...

Genuine John Deere X350M Ride On Mower 42 Inch Deck Belt M174313 | eBay

Genuine John Deere X350M Ride On Mower 42 Inch Deck Belt M174313 | eBay

OEM Replacement Belt for John Deere 116 116H 130 170 180 and 190C Toro  71191 with 38 in. Deck M40223 GX21986

OEM Replacement Belt for John Deere 116 116H 130 170 180 and 190C Toro 71191 with 38 in. Deck M40223 GX21986

John Deere 190C Tractor (With 54-IN Mower Deck) Material ...

John Deere 190C Tractor (With 54-IN Mower Deck) Material ...

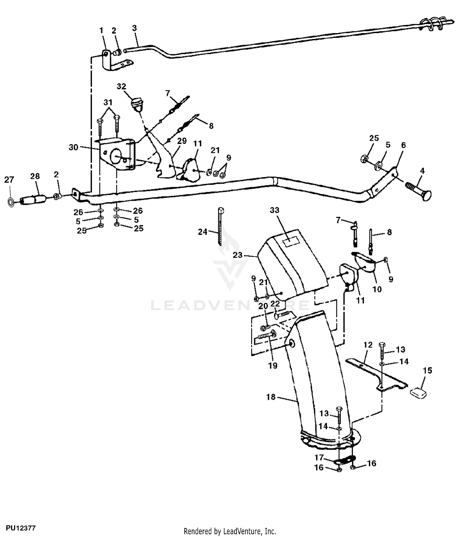
Kumar Bros USA New Steering Kit Fits John Deere Tractor 102 115 125 135 145  155C 190C 105

Kumar Bros USA New Steering Kit Fits John Deere Tractor 102 115 125 135 145 155C 190C 105

John Deere Original Equipment V-Belt #LVU21854

John Deere Original Equipment V-Belt #LVU21854

belt diagram for john deere l120,New daily offers,klasgrup.net

belt diagram for john deere l120,New daily offers,klasgrup.net

John Deere 190C Tractor (With 54-IN Mower Deck) Material ...

John Deere 190C Tractor (With 54-IN Mower Deck) Material ...

John Deere G110 54 Inch mower deck Edge Cutting System 54” Complete | eBay

John Deere G110 54 Inch mower deck Edge Cutting System 54” Complete | eBay

John Deere Parts Diagrams, John Deere 190C Tractor (With 54 ...

John Deere Parts Diagrams, John Deere 190C Tractor (With 54 ...

John Deere decks by crigby

John Deere decks by crigby

JOHN DEERE G110 LA175 LA150 D170 54” Lawn Mower Deck 155c ...

JOHN DEERE G110 LA175 LA150 D170 54” Lawn Mower Deck 155c ...

John Deere 190C Tractor (With 54-IN Mower Deck) 44-IN 2-Stage ...

John Deere 190C Tractor (With 54-IN Mower Deck) 44-IN 2-Stage ...

MCR - NEW PTO CLUTCH FITS JOHN DEERE LA140 190C 521973 5219 ...

MCR - NEW PTO CLUTCH FITS JOHN DEERE LA140 190C 521973 5219 ...

Tiger Cat Belts

Tiger Cat Belts

SOLVED: How do I replace the drive belt on a John Deere - Fixya

SOLVED: How do I replace the drive belt on a John Deere - Fixya

John Deere Parts Diagrams, John Deere 190C Tractor (With 54 ...

John Deere Parts Diagrams, John Deere 190C Tractor (With 54 ...

John deere 190C drive belt diagram on how to replace it.? - Fixya

John deere 190C drive belt diagram on how to replace it.? - Fixya

How to change mower belt John Deere D170

How to change mower belt John Deere D170

John Deere 175 Hydro mower Help needed Please

John Deere 175 Hydro mower Help needed Please

0 Response to "41 john deere 190c belt diagram"

Post a Comment

Iklan Atas Artikel

Iklan Tengah Artikel 1

Iklan Tengah Artikel 2

Iklan Bawah Artikel