39 ranch king riding mower belt diagram
MTD Ranch King Deck Diagram needed... - SSB Tractor Thank you! Brad (emailto: bradleymc@reedfam.net) gil. I need to know a website i can go to view diagrahms of deck belt installation, 18/46". LAURA HUFFMAN. PLEASE I NEED A DIAGRAHM FOR MY RANCH KING RIDING LAWN MOWER 142849H205 18/42. Dale. MTD Ranch King Model Number 13AG695G206, Serial number 1B197H10207. RANCH KING - Page 1 - Drive Belt for MTD 754-0441, 954-0441 Ranch King, Yard Man, Yard Machines. Bin # 265-918 Description: DRIVE BELT Replaces (OEM): MTD: 754-0441, 954-0441 Fits Models: MTD: 600 series hydrostatic lawn tractors, 2000 and older MTD 135G695G019 - Agway Lawn...
MTD YARD MACHINES 46" CUT RIDING MOWER DECK BELT ... - YouTube jeremy fountainthemowermedic1mail and business inquires themowermedic1@gmail.comhttps:// ...

Ranch king riding mower belt diagram
belt diagram mtd ranch king? = Answered | Mend Garden ... i need a diagram on replacing belts on a ranch king riding lawn mower carol july 2007 Belt diagram for ranch king 46'' mower - Fixya belt diagram for ranch king 46'' mower mower belt diagram - Cars & Trucks question Ranch King 130-800H205 - Ranch King Lawn ... - PartsTree 46" Mowing Deck diagram and repair parts lookup for Ranch King 130-800H205 - Ranch King Lawn Tractor (1990)
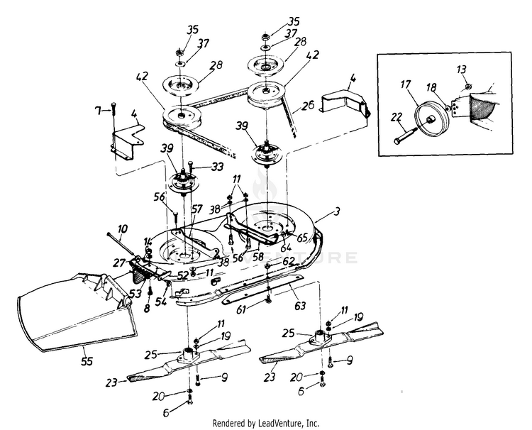
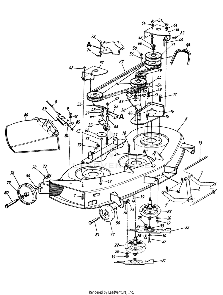
Ranch king riding mower belt diagram. Ranch King Riding Mowers Parts with Diagrams - PartsTree Ranch King Riding Mowers parts with OEM Ranch King parts diagrams to find Ranch King Riding Mowers repair parts quickly and easily MTD Ranch King Lawn Tractor | 140-840H205 ... Need to fix your 140-840H205 Ranch King Lawn Tractor? Use our part lists, interactive diagrams, accessories and expert repair advice to make your repairs easy. Please note shipping times may be longer than expected due to carrier delays. Ranch King 13AU695H205 - Ranch King Lawn Tractor (1999 ... Mower Blade, 18.26" LG 2-in-1 Star 13AU695H205 - Ranch King Lawn Tractor (1999) > Parts Diagrams ( 9 ) Hide Axle, Front, Wheels, Front, Steering Assembly I need a deck belt diagram for a Ranch King ... - JustAnswer I have a MTD Ranch King model 611 riding mower. The DRIVE belt that propels has broken and has to be replaced. Will I have to stand the mower on its end to replace, and if so will it harm my 20hp Kohl … read more
Riding Mower Belts - MTD Parts Riding Mower Upper Transmission Belt. 954-05040. $39.99. Add to Cart. In Stock. QuickView. Riding Mower 42-inch Deck Belt. 954-04060C. belt diagram for Murray - Murray Riding Mower - iFixit i cannot find a diagram for my rider mower, Murray Ranch King model 134560B205, please help. - Murray Riding Mower MTD Ranch King Mdl 130-670G205 Parts Diagram for 42" Side ... MTD Ranch King Mdl 130-670G205 42" Side Discharge Mowing Deck Parts Diagram. SWIPE SWIPE. 42" Side Discharge Mowing Deck. Parts03. Ranch King Riding Mower Drive Belt Diagram - Rover rancher ... Ranch King Riding Mower Belt Diagram - Ekerekizul from lh3.googleusercontent.com If you have a lot of land or grass that grows very quickly, you may use a riding lawn mower. Use this review of features, drawbacks and prices to decide which type suits your needs and budget. If you're a homeowner with a yard, a riding mower is imperative to help ...
Wiring Diagram For Mtd Riding Mower 13as678h205 Request a wiring diagram from Ranch King. Jul 04, | Garden · 1 Answer. How do I find an inline fuse for a mtd ranch king 38inch 14hp riding mower I want a drive belt diagram for a ranch king pro riding mower?. Ignition Switch For Briggs MTD Scag Toro Ignition Switch For .. WHF ETS ()-->Wiring Diagram .. Ranch King 46 Mower Deck Belt Diagram - Leandro Patchett Ranch King 46 Mower Deck Belt Diagram 19 Dec, 2021 Post a Comment Brad: I just bought a Ranch King 18/46 tractor, and find that the serial # plate under the seat is "wiped clean", from gas & weather. Can anyone kindly tell me what year and model # this might be? My research on the web has only been able to turn up one picture of the tractor, at ... Bolens Riding Mower Drive Belt Replacement - YouTube *Parts listed below*How to Replace the drive belts on a Bolens (MTD) riding mower with the Varidrive belt system. The Varidrive system uses two belts rather ... 13AF618G705 - Ranch King Lawn Tractor at | MTD Parts Need parts for your model 13AF618G705 - Ranch King Lawn Tractor? We have the OEM parts that you're looking for! Parts orders over $50 ship free. All orders placed before 5 pm ship next day.
MTD Ranch King Parts Lookup by Model - Lawn Mower Parts We sell parts & accessories for your Ariens lawn mower, zero turn, snow blower and other power equipment. ... MTD Ranch King Parts Diagrams 11-Push Walk-Behind Mowers. 12-Self-Propelled Walk-Behind Mowers. 13-Lawn Tractors. 14-Garden Tractors. 21-Tillers. 24-Chipper-Shredder & Vacs.
Drive belt diagram for 18 hp ranch king riding mower ... There are many different Ranch King models. But, if it is a front engine riding mower and has the reverse/forward shifter between your knees, it will have the fuse underneath the plate that the R ...
Ranch King 130-800H205 - Ranch King Lawn ... - PartsTree 46" Mowing Deck diagram and repair parts lookup for Ranch King 130-800H205 - Ranch King Lawn Tractor (1990)
Belt diagram for ranch king 46'' mower - Fixya belt diagram for ranch king 46'' mower mower belt diagram - Cars & Trucks question
belt diagram mtd ranch king? = Answered | Mend Garden ... i need a diagram on replacing belts on a ranch king riding lawn mower carol july 2007
0 Response to "39 ranch king riding mower belt diagram"
Post a Comment