41 John Deere G110 Parts Diagram
John Deere D140 Wiring Diagram - U Wiring So that we tried to uncover some terrific john deere d140 parts diagram photo for you. John Deere D110 Does Not Start Green Tractor Talk. This link will send you to the illustrated parts list on the john deere site. John deere g110 parts diagram. John deere l110 wiring diagram library source 1999 ford f250 super duty fuse panel best of box john ... John Deere D110 Parts Diagram - Automotive Parts Diagram ... Description: John Deere D110 Lawn Tractor Parts inside John Deere D110 Parts Diagram, image size 410 X 410 px, and to view image details please click the image.. Honestly, we also have been noticed that john deere d110 parts diagram is being one of the most popular subject right now. So we tried to get some great john deere d110 parts diagram photo to suit your needs.
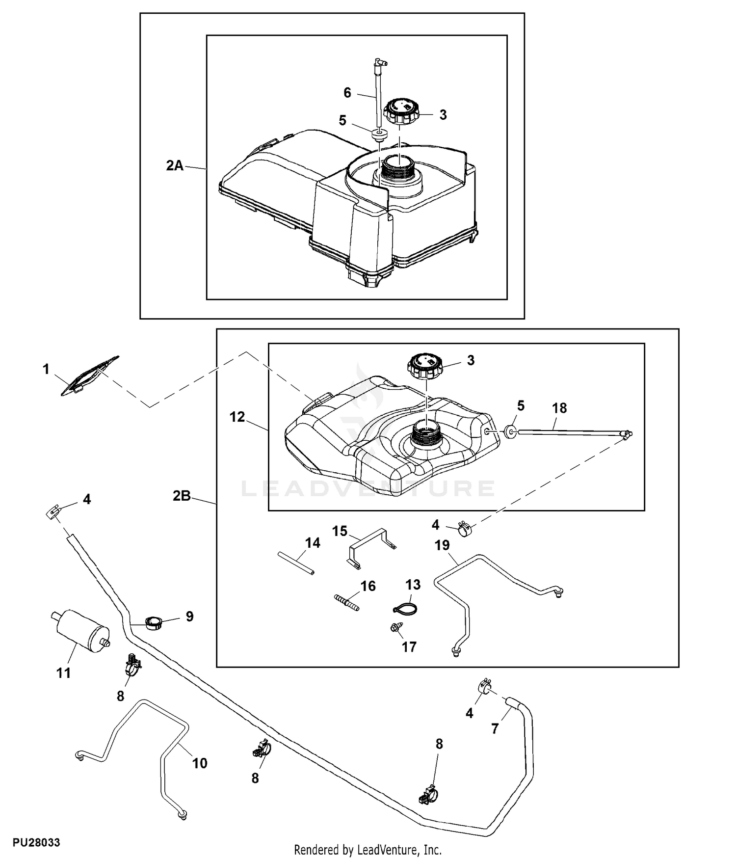
John Deere G110 Mower Belt Diagram - schematron.org 02.06.2019 02.06.2019 6 Comments on John Deere G110 Mower Belt Diagram. Buy Genuine OEM John Deere parts for your John Deere G Lawn Tractor ( With IN Mower Deck) IN 2-Stage Snowblower -PC pulleys & drive belt . This link will send you to the illustrated parts list on the john deere site.

John deere g110 parts diagram
John Deere Parts Diagrams, John Deere G100 Lawn Tractor ... John Deere Parts Diagrams, John Deere G100 Lawn Tractor Material Collection System -PC9292. AIR CLEANER: Fuel & Air. AXLE SHAFT & DIFFERENTIAL: Power Train MM13485. BAFFLES: Mower Deck & Lift Linkage. BAG,POST & BRACKETS: Material Collection System. BATTERY: ELECTRICAL. BELT DRIVE & IDLERS: Power Train MM13485. BLADE: Snow Blade 46-Inch. TractorData.com John Deere G110 tractor information John Deere G110 tractor overview. ©2000-2019 - TractorData™. Notice: Every attempt is made to ensure the data listed is accurate. John Deere G110 Lawn Tractor Parts - Quick Parts Reference ... A Complete Listing Of All John Deere Lawn Tractor Parts Is Available Using Illustrated Diagrams. This quick parts reference guide will provide you with the most common John Deere G110 Lawn Tractor Parts 54 Mower Deck. These John Deere Lawn Tractor Parts may include: Tune Up Kit, Spark Plug, Mower Blades, Traction Drive Belt, Transmission Belt ...
John deere g110 parts diagram. John Deere Parts Diagrams, John Deere G110 Lawn Tractor ... Buy Genuine OEM John Deere parts for your John Deere G110 Lawn Tractor (With 54-IN Mower Deck) Material Collection System -PC9342 and ship today! Huge in-stock inventory of OEM John Deere parts. PDF John Deere G110 Owners Manual - auto.jacksonville.com John Deere G110 Owners Manual - ads.baa.uk.com Online Library John Deere G110 Owners Manual John Deere G110 Owners Manual When somebody should go to the ebook stores, search foundation by shop, shelf by shelf, it is in reality problematic. This is why we give the book compilations in this website. John Deere Model G110 Lawn and Garden Tractor Parts Model G110. Click here for 54-inch 54 Mower Deck Parts for G110. Click here for 2 Bag Rear Bagger Parts for G110. Click here for 42-inch Snow Blower Parts for G110. Click here for 44-inch Snow Blower Parts for G110. Click here for 46-inch Front Blade Parts for G110. John Deere G110 Parts Diagrams - Jacks Small Engines John Deere G110 Parts Diagrams. Parts Lookup - Enter a part number or partial description to search for parts within this model. There are (4) parts used by this model. 12v, 10 tooth, PMGR type, CCW rotation. Mounts w/two (2) hole tangent design DE housing.
John Deere G110 Lawn Tractor Maintenance Guide & Parts List Service Schedule Parts for a John Deere G110 Lawn Tractor & Parts List. While your John Deere machine is certainly built with quality parts, they have a limited life. Good news is you can easily service your machine yourself using a John Deere maintenance kit or service kits or by getting the specific John Deere part needed to keep your John Deere mower or tractor running for a long time. John Deere G110 Belt Diagram - wireschema.com Description: John Deere D Lawn Tractor Parts inside John Deere D Parts Diagram, image size X px, and to view image details please click the image.. Honestly, we also have been noticed that john deere d parts diagram is being one of the most popular subject right now. So we tried to get some great john deere d parts diagram photo to suit your . John Deere G110 Garden Tractor Parts - Mutton Power John Deere G110 Parts. The John Deere G110 was produced from 2004 to 2005. It came equipped with a hydrostatic drive transmission, 54" Mower Deck and 25hp Kohler engine. Regular Maintenance should be performed on the G110 every 50 hours and should include Spark Plug, Air Filter, Oil Filter with 2.1qts oil and sharpen or replace mower blades. ARIMain - Weingartz John Deere Parts Lookup -John Deere-G110 Lawn Tractor (With 54-IN Mower Deck) Material Collection System -PC9342
john deere l110 steering parts diagram | John Deere G110 ... Feb 07, 2022 · Steering Parts Diagram for John Deere G110, L100, L105, L107, L108, L110, L111, L118, L120, L130 Riding Lawn Tractors DA: 98 PA: 100 MOZ Rank: 15 John Deere Parts Diagrams, John Deere L110 Lawn Tractor Amazon.com: john deere g110 parts John Deere Maintenance Kit Fits L130, G100, G110 Lawn Tractor Mower LG199 Filters Oil - Free Filter Wrench Included 4.6 out of 5 stars 6 Amazon's Choice for john deere g110 parts comparative cultural studies comparative literature media ... Issue 6.1 (March 2004) Thematic Issue: Shakespeare on Film in Asia and Hollywood. Ed. Charles S. Ross 54-inch 54 Mower Deck Parts for G110 - John Deere Parts ... Predator2 Mower Blade for 54-inch John Deere Deck - B1PD5146. (6) $17.66. Usually available. Add to Cart. Quick View. Sunbelt XHT Mower Blade for 54-inch John Deere Deck - B1JD6019. (1) $14.21.
Amazon.com: john deere g110 parts 17-32 of 257 results for "john deere g110 parts" John Deere Original Equipment Link #M131725. 4.8 out of 5 stars 19. $7.71 $ 7. 71. FREE Shipping. More Buying Choices $5.36 (6 new offers) kipa Steering Sector Pinion Gear Rebuild Kit Fits for John Deere L Series Lawn Tractors, Replace for MPN GX20052BLE, GX20053, GX20054, GX21994.
John Deere 54" LA150-190C-G110 Deck Parts Diagram - Mutton Power John Deere LA150-190C-G110 54" Deck Parts Diagram with original John Deere Parts and easy to use parts look-up

Affordable Parts New Deck Belt for John Deere 54" Deck 190C D170 E180 G110 LA150 LA175 Tractors Replaces GX21395
GX21582 John Deere Spring :: AVS.Parts John Deere GX21582 Spring Sale 1642HS, 2048, 2548, 42, 46, D140, D150, D155, D160, D170, G110, X165 Spring Part OEM number: sell Buy GX21582 tractor parts Price: 7 ...
John Deere G110 - SSB Tractor Bought G110 Aug 04. 60 hours no problem with belts or mower parts. Cutting on 2 acres. Very easy to operate - love the automatic trans. But intermittent blue smoke out of exhaust (5 or 6 times) that will stop if motor is turned off and restarted. John Deere dealer thinks may be carbureator problem.
John Deere G100 and G110 Garden Tractors Service Manual TM2020 This John Deere Service Manual includes repair and maintenance information, detailed description of service and troubleshoot procedures, installation instructions, special instructions, other additional information for John Deere G100, G110 Tractors. This manual includes illustrations like pictures and diagrams which you can help you determine ...
John Deere Parts Diagram & Parts Search • John Deere Parts ... John Deere AG, Lawn & Garden and CWP Equipment Parts Search. John Deere parts lookup tool and diagram is an incredible online source. It is a complete catalog that shows you detailed parts diagrams of every part of your machine. This online parts catalog is robust and easy to use. Searching for your John Deere parts online has never been easier.
John Deere 110 garden tractor. This page is dedicated to ... John Deere 110 The model 110 was John Deere's first Lawn & Garden tractor. In 1962 a design was laid forth to build a lawn and garden tractor that would offer many of the same features and wide range of implements that the bigger John Deere tractors offered.
JOHN DEERE - Service Manual Download John Deere 655-755-756-855-856-955 Tractors Service Repair Shop Manual. John Deere 670-770-870-970-1070 Tractors Service Repair Shop Manual. John Deere 850, 950 & 1050 Tractors Service Repair Shop Manual. John Deere 1020, 1520, 1530, 2020, 2030 Tractors Repair Repair Shop Manual.
John Deere G110/L100 Series Steering Parts - Mutton Power Steering Parts Diagram for John Deere G110, L100, L105, L107, L108, L110, L111, L118, L120, L130 Riding Lawn Tractors
Parts Finder - John Deere Search by Model Number/Product Type. Your model number is a combination of letters and numbers which can be located on either the deck or hood of your equipment (Ex. LA125). The drop down boxes will help you locate the models and product types with parts available for purchase on this site. Machine Type.
John Deere G110 Lawn Tractor Parts - Quick Parts Reference ... A Complete Listing Of All John Deere Lawn Tractor Parts Is Available Using Illustrated Diagrams. This quick parts reference guide will provide you with the most common John Deere G110 Lawn Tractor Parts 54 Mower Deck. These John Deere Lawn Tractor Parts may include: Tune Up Kit, Spark Plug, Mower Blades, Traction Drive Belt, Transmission Belt ...
TractorData.com John Deere G110 tractor information John Deere G110 tractor overview. ©2000-2019 - TractorData™. Notice: Every attempt is made to ensure the data listed is accurate.
John Deere Parts Diagrams, John Deere G100 Lawn Tractor ... John Deere Parts Diagrams, John Deere G100 Lawn Tractor Material Collection System -PC9292. AIR CLEANER: Fuel & Air. AXLE SHAFT & DIFFERENTIAL: Power Train MM13485. BAFFLES: Mower Deck & Lift Linkage. BAG,POST & BRACKETS: Material Collection System. BATTERY: ELECTRICAL. BELT DRIVE & IDLERS: Power Train MM13485. BLADE: Snow Blade 46-Inch.

Rareelectrical NEW 12V 10T STARTER MOTOR COMPATIBLE WITH JOHN DEERE LAWN TRACTOR G100 G110 L130 LX266 6744E2
0 Response to "41 John Deere G110 Parts Diagram"
Post a Comment