40 john deere stx38 parts diagram
John Deere Parts Diagrams, John Deere STX38, STX46 (BLACK MOWER DECK) LAWN TRACTORS. ELECTRICAL. ENGINE AM123086, AM123705, AM121420. FUEL AND AIR. MOWER DECK AND LIFT LINKAGE. POWER TRAIN. POWER TRAIN AM126660, AM125083, AM125242. STEERING AND BRAKES. WHEELS, FRAME, SHEET METAL AND OPERATOR'S STATION. John Deere STX38 Parts Diagrams. Parts Lookup - Enter a part number or partial description to search for parts within this model. There are (10) parts used by this model. 12v, 10 tooth, PMGR type, CCW rotation. Mounts w/two (2) hole tangent design DE housing.
40. $9.95. $9. . 95. "john deere stx38 oil filter". Harbot GY20574 M92359 Air Filter with AM125424 Oil Filter Tune Up Kit for JD STX30 STX38 STX46 LX173 LX172 LX176 LX178 LX186 LX188 LT133 LT155 LX255 LTR166 Scotts S1642 SST15 Lawn Tractor. 4.5 out of 5 stars. 109.

John deere stx38 parts diagram
STX30 and STX38 (Yellow Mower Deck) Lawn Tractors STX30 - TRACTOR, LAWN AND GARDEN EPC John Deere online advisor sale parts diagram catalog Apr 30, · Does anyone have a wiring diagram for a John Deere STX38 yellow deck, kohler CV S, Engine Serial No. The tractor information was too worn to gather any information from it. I'm looking for the complete riding mower wiring information - I found the parts wiring diagram, but I need something more specific. John Deere Parts Lookup -John Deere-STX38 Lawn Tractor (12.5 HP) (Yellow Mower Deck) -PC2232
John deere stx38 parts diagram. Buy Genuine OEM John Deere parts for your John Deere STX30, STX38 Lawn Tractors, Yellow Mower Deck and ship today! Huge in-stock inventory of OEM John Deere parts. STX30 and STX38 (Yellow Mower Deck) Lawn Tractors STX38 - TRACTOR, LAWN AND GARDEN EPC John Deere online advisor sale parts diagram catalog Model STX38 Black Deck. Click here for 38-inch Black Mower Deck Parts for STX38. Before tractor serial number 270,000. Click here for 38-inch Black Mower Deck Parts for STX38. After tractor serial number 270,001. John deere stx38 parts diagram is among the images we located on the net from reliable sources. Huge in stock inventory of oem john deere parts. It reveals the parts of the circuit as simplified shapes and also the power as well as signal links between the tools. Collection of john deere stx38 wiring schematic. What i mean is the thing dont ...
John Deere Stx38 Yellow Deck Belt Diagram. John deere l130 lawn tractor parts throughout john deere stx38 parts diagram image size 410 x 410 px and to view image details please click the image. Turn the wheels all the way to the left and slide the deck out on the right side. Jun 09 Stx38 mower belt diagram for yellow deck - Garden. John Deere AG, Lawn & Garden and CWP Equipment Parts Search. John Deere parts lookup tool and diagram is an incredible online source. It is a complete catalog that shows you detailed parts diagrams of every part of your machine. This online parts catalog is robust and easy to use. Searching for your John Deere parts online has never been easier. John Deere STX 38 BLACK DECK Parts Diagram Join the MuttonPower.com Mailing List for Special Savings! Get Latest Offers and Updates From Mutton Power Equipment. West Location. 5612 Illinois Road, Fort Wayne, IN 46804 (MAP) Phone: 260-432-9438 Hours: M-F 8:30AM-5:30PM Sat 8:30AM-2:00PM (Subject to Change) ... Looking at the diagram from John Deere, It looks like the wiring plugs in with three (3) connectors. The PTO Switch is #17 and the Plugs are #2. STX38 - ground on PTO clutch I checked the PTO switch and the connections seemed to be OK. John Deere STX38 good parts help and especially the available diagrams for your machine here JD Parts Catalog.
John Deere STX38 Parts. The John Deere STX38 was produced from 1988 to 1997 with Serial Numbers under 210000 having Yellow Decks and models over having Black Decks. Both versions came equipped with a gear drive transmission, 38" Mower Deck and 12.5hp Kohler Engine. Regular Maintenance should be performed on the STX38 every 50 hours and should ... Click here for the John Deere STX38 (Yellow Deck) parts diagram, John Deere STX38 (Black Deck) parts diagram. John Deere STX38 riding mowers are built with quality parts. However, they still require maintenance parts from time to time. Such as, idler pulley, mower blades, drive belt, deck belt, spindle, starter, etc… Service Schedule Parts for a John Deere STX38 Lawn Tractor & Parts List. While your John Deere machine is certainly built with quality parts, they have a limited life. Good news is you can easily service your machine yourself using a John Deere maintenance kit or service kits or by getting the specific John Deere part needed to keep your John Deere mower or tractor running for a long time. Description: John Deere L130 Lawn Tractor Parts throughout John Deere Stx38 Parts Diagram, image size 410 X 410 px, and to view image details please click the image.. Here is a picture gallery about john deere stx38 parts diagram complete with the description of the image, please find the image you need.
Jul 22, 2015 · Order John Deere Lawn Tractor Parts Online. Same Day & Flat Rate Shipping! A Complete Listing Of All John Deere Lawn Tractor Parts Is Available Using Illustrated Diagrams. This quick parts reference guide will provide you with the most common John Deere STX38 Lawn Tractor Parts 38 Mower Deck (Yellow Deck).
Google this search term - john deere stx38 mower belt routing diagram - you will find several routing diagrams in the "images" link that comes. Overall view. Overall view of STX38 Gear drive belt (#1). John Deere 1990s Deck Belt Graphics. John Deere Tractor STX38 and STX46 Gear Drive Belts (Black Deck) - Deere diagram; # Deere.
Stx38 Wiring Diagram wiring diagram is a simplified all right pictorial representation of an electrical circuit. John deere stx38 parts diagram is among the images we located on the net from reliable sources. Sometimes wiring diagram may also refer to the architectural wiring program.
Description: John Deere L Lawn Tractor Parts throughout John Deere Stx38 Parts Diagram, image size X px, and to view image details please click the image.. Here is a picture gallery about john deere stx38 parts diagram complete with the description of the image, please find the image you need.
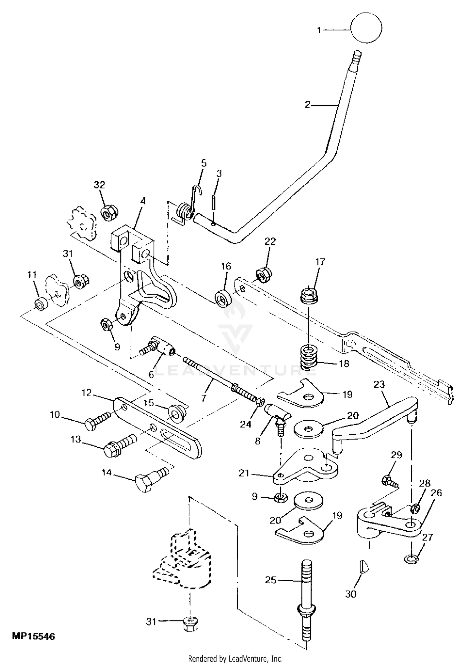
Find parts for your john deere range shift,pump,& motor hydro: power train am126660,am125083,am125242 with our free parts lookup tool! Search easy-to-use diagrams and enjoy same-day shipping on standard John Deere parts orders.
john deere stx38 parts diagram is among the images we located on the net from reliable sources. We attempt to talk about this john deere stx38 parts diagram photo in this article just because based on facts from Google search engine, It really is one of the top rated searches keyword on google.
Model STX38 Yellow Deck. John Deere's Model STX38 Yellow Deck is a brilliantly designed lawn tractor. With that said, the sum is only as good as the parts, which may require replacement after long-time use. Thankfully, finding new John Deere Model STX38 lawn tractor parts is as easy as perusing the selection at GreenPartStore.com.
John Deere Parts Lookup -John Deere-STX38 Lawn Tractor (12.5 HP) (Yellow Mower Deck) -PC2232
Apr 30, · Does anyone have a wiring diagram for a John Deere STX38 yellow deck, kohler CV S, Engine Serial No. The tractor information was too worn to gather any information from it. I'm looking for the complete riding mower wiring information - I found the parts wiring diagram, but I need something more specific.
STX30 and STX38 (Yellow Mower Deck) Lawn Tractors STX30 - TRACTOR, LAWN AND GARDEN EPC John Deere online advisor sale parts diagram catalog
0 Response to "40 john deere stx38 parts diagram"
Post a Comment