Iklan 300x250

38 john deere 345 mower deck parts diagram

John Deere 48 Riding" Mower Deck 325 335 345 Local Pickup ... Find many great new & used options and get the best deals for JOHN DEERE 48 RIDING" MOWER DECK 325 335 345 LOCAL PICKUP VIRGINIA at the best online prices at eBay! Free shipping for many products! John Deere Lawn Tractor Diagrams - deere 6420 solenoid ... John Deere Lawn Tractor Diagrams - 9 images - john deere lawn mower parts diagrams d170 deck 54 la175, scotts s1642 drive belt diagram, ... John Deere Lawn Tractor Mower Deck Parts. John Deere G100 Lawn Tractor. John Deere 112 Lawn Tractor. John Deere 110 Lawn Tractor Parts. John Deere 430 Parts Diagram. John Deere 345 Diagram.

Mower deck - Tractor Talk Forum - Yesterday's Tractors Posted: Wed May 05, 2021 4:00 am Post subject: Mower deck: I have the deck off of the JD 345 to clean up the rust and paint it. Found a couple of cracks and welded them and then power washed. The previous owner must have never cleaned out the underside or the top, really rusty. I gave it 2 coats of rust converter and will prime and paint it. Have some slip plate for under the deck.

John deere 345 mower deck parts diagram

John deere 345 mower deck parts diagram

PDF John Deere 48c Mower Deck Belt Diagram Bookmark File PDF John Deere 48c Mower Deck Belt DiagramJohn Deere 48c Mower Deck Belt Diagram Eventually, you will extremely ... Convertible-Mower-Deck-48-Inch-Parts Diagram. ANTI-BLOWOUT Page 6/15. Bookmark File PDF John Deere 48c Mower Deck Belt DiagramKIT. LABELS. LABELS (EXPORT) 2. LABELS 2. Leaf Kit John Deere X350 48 Deck - dy 9060 john deere maintenance ... John Deere X350 48 Deck. Here are a number of highest rated John Deere X350 48 Deck pictures upon internet. We identified it from obedient source. Its submitted by dispensation in the best field. We agree to this nice of John Deere X350 48 Deck graphic could possibly be the most trending topic in the manner of we allowance it in google pro or ... AM133924 John Deere Pulley :: AVS.Parts John Deere AM133924 Pulley Sale 325, 38, GX255, GX325, GX335, GX345, GX355, LX280, LX289 Pulley Part OEM number: sell Buy AM133924 tractor parts Price: 23$ Catalogue scheme. Machinery parts: genuine, oem, Buy new aftermarket ... John Deere parts catalog. 325 - ATTACHMENT, MOWER DECK AND POWER FLOW BLOWER ASSEMBLY (325, 335, 345, 355D LAWN ...

John deere 345 mower deck parts diagram. John Deere 345 (54") Mower Deck Assembly | eBay MODEL : 345. Brand: John Deere. Condition: USED. Description: John Deere 345 (54") Mower Deck Assembly, Removed from Parts Tractor, Shows minor wear of a 20+ Year old mower deck. Surface rust, Front Corner bent in (SEE Picture) Wheels Show Heavy wear and black rubber missing. Mower deck did work fine on tractor as is. John Deere 42" D100 Series Deck Parts Diagram Walk Behind Lawn Mowers; ... John Deere 42" D100 Series Deck Parts Diagram Join the MuttonPower.com Mailing List for Special Savings! Get Latest Offers and Updates From Mutton Power Equipment. West Location. 5612 Illinois Road, Fort Wayne, IN 46804 (MAP) ... TractorData.com John Deere 345 tractor information John Deere 345 attachments: 38" mid-mount mower deck: 44" mid-mount mower deck: 48" mid-mount mower deck: 54" mid-mount mower deck: snowblower: blade: Attachment details ... 345 Serial Numbers: 1995: 010001 1996: ... by John Deere: Lawn and Garden Product Information Handbook published in 1997, by John Deere: John deere snow thrower parts, snow blower shown pictures Some people attempting to find specifics of john deere 345 parts diagram and certainly one of them is you, is not it? 1/2-20 left hand ball joint for john deere. ... kubota, and new holland for sale on machinio. How to remove a mower deck from a john deere 100 series 125 automatic - duration, 8, 36. We have access to national warehouses ...

Parts - Greenway EquipmentGreenway Equipment - John Deere Shop our wide variety of John Deere, STIHL, Honda, and aftermarket parts. We carry agriculture, landscaping, and small construction equipment parts. ... 2022 Spring John Deere Parts Catalog. Sale Available Dec. 1, 2021 - Feb. 28, 2022. Explore Deals. ... In-Line Gasoline Fuel Filter for Mowers, Gators, RLE $ 4.29. More details Add to cart ... John Deere Lawn Tractor Parts | TRACTOR NEWS John Deere 345 Parts Diagrams Lawn Mower Parts. Pin On Healthy Eating . John Deere 102 Parts. ... John Deere Lawn and Garden Tractor Parts. John Deere 100 Series Deck Height Indicator GY21145 1200 Add to cart. Regular Maintenance should be performed on the 102 every 50 hours and should include Spark Plug Air Filter Oil Filter with 15qts oil and ... 345 PTO Clutch - Bolt backs out? | Green Tractor Talk I shut the machine down, looked underneath it, and the PTO clutch plug was hanging underneath the tractor, disconnected. I found that the crank bolt was only finger tight. I replaced the clutch when I bought the 345 in 2017 as I had to rebuild the motor, but I have a hard time believing it was loose for the last 2 mowing seasons and for tilling ... 37 john deere 42 snowblower parts diagram - Diagram Online ... 37 john deere 42 snowblower parts diagram. Written By Rosa B. Pruitt Sunday, January 16, 2022 Add Comment. Edit. John deere 345 snow blade manual. · John Deere MX 48 Garden Blade Snow Plow Attachment with lift kit for the tractor. Very good condition, always inside storage. Comes as shown-this is the exact unit you will be purchasing.

John Deere Mower Deck Belt Installation - john deere d140 ... John Deere Mower Deck Belt Installation - 9 images - john deere 110 112 210 212 214 216 39 mower deck shell, john deere l100 belt replacement youtube, Menu ≡ ╳ Home How to Change the Mower Belt on 54 Inch John Deere Riding ... Line the mower lift brackets with the draft arms and insert the J-pins. Push front lift rod assembly into brackets on the front of the mower, lift up and insert lift rod assembly into front of the mower frame. Attach the belt to the engine drive sheave. Push drive belt tension rod back into place. Raise the mower deck. John Deere 345 Manual Free Pdf Download Online (Manuals ... John Deere & Company has a long history of providing quality diesel engines to its customers, from its first in 1949 to today's Tier 4 PowerTech engine. Deere 455 lawn & garden tractor with 22HP 3-cyl Yanmar diesel; 60" mower deck. All Proper Mauals And Pdfs Available For Download Free. TractorData.com John Deere 345 tractor attachments information John Deere 345 Attachments. Deere-advertised tillers were a 30-inch mechanical or 42-inch hydraulic rear tiller. Three bagger options were available: a 7-bushel for the 38-inch deck, a 7-bushel Power Flow for the 48 and 54-inch decks, or the 19-bushel MC519 cart and Power Flow system. The snowblower and front blade require the front lift kit ...

Taking the deck off a John Deere 345 and similar tractors

Taking the deck off a John Deere 345 and similar tractors

41 john deere lt155 belt diagram John Deere LT166 Engine. 16HP Briggs & Stratton 480cc 2-cyl gasoline. John deere lt155 belt diagram. BELT PART NUMBER: M127926. BELT SPEC: Width: 5/8". Length: 70-7/8". FITS ON. JOHN DEERE. LT155 Lawn Tractor With 38-IN Mower Deck -PC2607 1998 Model M0L155B010001-045000. LT155 Lawn Tractor With 38-IN Mower Deck -PC2607 1999 Model M0L155B045001 ...

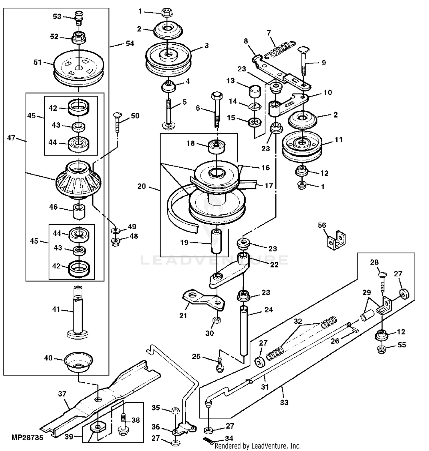
John Deere Parts Diagrams, John Deere 345 Lawn & Garden ...

John Deere Parts Diagrams, John Deere 345 Lawn & Garden ...

PDF John Deere D100 Parts Manual Deer Mower John Deere D100 Series Mower Deck Belt Replacement Steering Sector \u0026 Pinion Gear Replacement - John Deere LA145 Riding Mower How To Change Fuel Filter | Page 9/39. Read Online ... Parts Diagram. Page 11/39. Read Online John Deere D100 Parts Manual Maintenance Parts. Operator's Manual. Attachments. Back Yard Tips. Register for ...

John Deere GX335 Lawn & Garden Tractor 44-IN Mulching Mower ...

John Deere GX335 Lawn & Garden Tractor 44-IN Mulching Mower ...

John Deere 54 Inch Mower Deck Wheels - 54d auto connect ... John Deere 54 Inch Mower Deck Wheels - 9 images - deere 265 deck adjustment help please my tractor forum, john deere 60 inch mower deck for sale online ebay, ... John Deere 345 Mower Deck. John Deere L100 Mower Deck. JD 54 Inch Mower Deck. John Deere 50 Inch Mower Deck. John Deere Front Deck Mower. John Deere 54 Inch Mower Deck Parts. John ...

John Deere Parts Diagrams, John Deere 345 Lawn & Garden ...

John Deere Parts Diagrams, John Deere 345 Lawn & Garden ...

john deere 345 wiring diagram - Wiring Diagram John Deere 325 335 345 Lawn Garden Tractors Repair Manual Tm1760. 345 Ignition Cranking Problem Weekend Freedom Machines. Need To Find Info On Electrical Schematic For Deere 345 Lawn Tractor Built Around 1997 Has The Kawasaki 20 Hp Engine. John Deere 345 Lawn Garden Tractors Without Mower Deck Pc2428 Main Wiring Harness 325 335 070001 Electrical.

X350 Owner Information | Parts & Service | John Deere US

X350 Owner Information | Parts & Service | John Deere US

PDF John Deere X534 Manual - heldenfels.ohio.com (05/20/2017) 2012 John Deere X534 mower Big Iron 6 14 17 sale John Deere 5R Series Tractor: 5125R CommandQuad Manual Transmission Quick Demo John Deere X534 RIO Bypass John Deere X534 Manual John Deere X534 Lawn Mower User Manual. Open as PDF. of 2 FEATURES. S. ELECT. S. ERIES ™ X500, X520, X534 (4WS), AND. X540. M.

John Deere Mower Decks

John Deere Mower Decks

PDF John Deere Piranha Manual John Deere mower deck removal and high lift blade installation John Deere LX255, LX266, LX277, LX277AWS, LX279, LX288 Manual TM 1754 John Deere LX178 Servicing Part 5 John Deere 130, 160, 165, 175, 180 and 185 Lawn Tractor Manual TM 1351 John Deere Service Manual Download

Install a 48c deck on a John Deere 345 | Green Tractor Talk

Install a 48c deck on a John Deere 345 | Green Tractor Talk

How To Install The Mower Deck On A John Deere Lx Gt Series ... How To Install The Mower Deck On A John Deere Lx Gt Series Lawn Tractor Pt 1 Of 2. How To Install The Mower Deck On A John Deere Lx Gt Series Lawn Tractor Pt 1 Of 2. By dubaikhalifas On Feb 21, 2022. Share.

John Deere 345 Parts Diagrams

John Deere 345 Parts Diagrams

John Deere 2210 Mower Deck Manual - constructivworks.com John Deere 62C Mower Deck Shell Parts 2210 2305 X465-X595 X700 Series. $449.99. Local Pickup. or Best Offer. john deere 425,445,455 60" mower deck . $1,250.00. Local Pickup. or Best Offer. 11 watching. John Deere 325 335 345 355D 54" Mower Deck Covers Guards Shields Set. $45.00. $18.00 shipping. TractorData.com John Deere 2210 tractor information

John Deere 325, 335, 345, 355D TRACTORS Power Flow Blower ...

John Deere 325, 335, 345, 355D TRACTORS Power Flow Blower ...

39 ruger 10/22 diagram TekMat Ruger 10/22 Cleaning Mat / 12 x 36 Thick, Durable, Waterproof / Long Gun Cleaning Mat with Parts Diagram and Instructions / Armorers Bench Mat / Black. by TekMat. $ $ 20 82 Prime. FREE Shipping on eligible orders. This is a Ruger blued-steel front sight with orange fiber optic Superior Concepts Black Oversized Handle forLR Ruger 10/22 10 ...

I cant find my manual how to replace a mower belt on a jd ...

I cant find my manual how to replace a mower belt on a jd ...

Parts manual for john deere lt150 - United States examples ... The John Deere LT150 lawnmower is from JD LT series of garden tractor mowers that was built produced for 3 years from 2002 until production ceased in 2005. The JD LT150 gets it's power from a Kohler, 1 cylinder engine. This engine produces 15 horsepower and fortunately does not require tools to drain the oil. A 12 volt battery is used to.

Blade drive belt routing help on 345 48

Blade drive belt routing help on 345 48" deck | My Tractor Forum

How To Put A Belt On A John Deere Lawn Mower Step By Step? Time needed: 45 minutes. Follow the steps carefully to put on the belt on the mower: Take Off The Shields. All you have to do to take off the previous belt is to take off the shield. The shields should be secured with a few bolts. Take them off to unhook the shields. Make sure you take off the shields on both sides.

The John Deere 345 deck update. - YouTube

The John Deere 345 deck update. - YouTube

AM133924 John Deere Pulley :: AVS.Parts John Deere AM133924 Pulley Sale 325, 38, GX255, GX325, GX335, GX345, GX355, LX280, LX289 Pulley Part OEM number: sell Buy AM133924 tractor parts Price: 23$ Catalogue scheme. Machinery parts: genuine, oem, Buy new aftermarket ... John Deere parts catalog. 325 - ATTACHMENT, MOWER DECK AND POWER FLOW BLOWER ASSEMBLY (325, 335, 345, 355D LAWN ...

John Deere Parts Diagrams, John Deere GX345 Lawn & Garden ...

John Deere Parts Diagrams, John Deere GX345 Lawn & Garden ...

John Deere X350 48 Deck - dy 9060 john deere maintenance ... John Deere X350 48 Deck. Here are a number of highest rated John Deere X350 48 Deck pictures upon internet. We identified it from obedient source. Its submitted by dispensation in the best field. We agree to this nice of John Deere X350 48 Deck graphic could possibly be the most trending topic in the manner of we allowance it in google pro or ...

John Deere GX345 Lawn & Garden Tractor With 54-IN Convertible ...

John Deere GX345 Lawn & Garden Tractor With 54-IN Convertible ...

PDF John Deere 48c Mower Deck Belt Diagram Bookmark File PDF John Deere 48c Mower Deck Belt DiagramJohn Deere 48c Mower Deck Belt Diagram Eventually, you will extremely ... Convertible-Mower-Deck-48-Inch-Parts Diagram. ANTI-BLOWOUT Page 6/15. Bookmark File PDF John Deere 48c Mower Deck Belt DiagramKIT. LABELS. LABELS (EXPORT) 2. LABELS 2. Leaf Kit

John Deere Mower Deck Parts

John Deere Mower Deck Parts

John Deere Parts Diagrams, John Deere GX345 Lawn & Garden ...

John Deere Parts Diagrams, John Deere GX345 Lawn & Garden ...

John Deere Parts Search for all John Deere Models

John Deere Parts Search for all John Deere Models

John Deere Parts Lookup -325, 335 & 345 GARDEN TRACTORS 54-IN ...

John Deere Parts Lookup -325, 335 & 345 GARDEN TRACTORS 54-IN ...

AM117245 - Kit fits John Deere | AFTERMARKET.SUPPLY

AM117245 - Kit fits John Deere | AFTERMARKET.SUPPLY

John Deere 325, 335, 345, 355D TRACTORS 48-IN Convertible ...

John Deere 325, 335, 345, 355D TRACTORS 48-IN Convertible ...

John Deere 345 lawn and garden tractor: review and specs ...

John Deere 345 lawn and garden tractor: review and specs ...

Blade drive belt routing help on 345 48

Blade drive belt routing help on 345 48" deck | My Tractor Forum

John Deere Parts Diagrams, John Deere GX345 Lawn & Garden ...

John Deere Parts Diagrams, John Deere GX345 Lawn & Garden ...

JOHN DEERE 335 LAWN GARDEN TRACTOR Service Repair Manual by ...

JOHN DEERE 335 LAWN GARDEN TRACTOR Service Repair Manual by ...

Mower Deck Spindle 54

Mower Deck Spindle 54" Deck Fits John Deere 260 265 320 325 335 345 425 445 455 | eBay

MTD 135T696H190 Lawn Tractor LT-165 (1995) Parts Diagram for ...

MTD 135T696H190 Lawn Tractor LT-165 (1995) Parts Diagram for ...

John Deere GX345 Lawn & Garden Tractor With 54-IN Convertible ...

John Deere GX345 Lawn & Garden Tractor With 54-IN Convertible ...

John Deere 325, 335, 345, 355D TRACTORS 48-IN Convertible ...

John Deere 325, 335, 345, 355D TRACTORS 48-IN Convertible ...

54

54" Deck Diagram | My Tractor Forum

John Deere GX345 Garden Tractor Maintenance Guide & Parts List

John Deere GX345 Garden Tractor Maintenance Guide & Parts List

345 drive belt issue | Green Tractor Talk

345 drive belt issue | Green Tractor Talk

John Deere Parts Lookup -325, 335 & 345 GARDEN TRACTORS 54-IN ...

John Deere Parts Lookup -325, 335 & 345 GARDEN TRACTORS 54-IN ...

John Deere 325, 335, 345, 355D TRACTORS Power Flow Blower ...

John Deere 325, 335, 345, 355D TRACTORS Power Flow Blower ...

Amazon.com : John Deere Wheel Kit AM125172 (x2) 48C 54C 62C ...

Amazon.com : John Deere Wheel Kit AM125172 (x2) 48C 54C 62C ...

Belt routing JD 345 54 deck - Yesterday's Tractors

Belt routing JD 345 54 deck - Yesterday's Tractors

John Deere 325, 335, 345, 355D TRACTORS 48-IN Convertible ...

John Deere 325, 335, 345, 355D TRACTORS 48-IN Convertible ...

John Deere GX345 Lawn & Garden Tractor 54-IN Convertible ...

John Deere GX345 Lawn & Garden Tractor 54-IN Convertible ...

John Deere 345 Lawn & Garden Tractors With 44-IN Mower Deck ...

John Deere 345 Lawn & Garden Tractors With 44-IN Mower Deck ...

0 Response to "38 john deere 345 mower deck parts diagram"

Post a Comment

Iklan Atas Artikel

Iklan Tengah Artikel 1

Iklan Tengah Artikel 2

Iklan Bawah Artikel