Iklan 300x250

39 2005 chrysler 300 wiring diagram

12 Answers. Re: I need a 2005 Chrysler 300 wiring diagram. You don't need to touch your harness for the fog lights as its a major harness and is connected to many other things. You need to pop out the light switch opn the dash. it pops out and in the back of it you disconnect it. It has a conector on it. Version. Listed below is the vehicle specific wiring diagram for your car alarm, remote starter or keyless entry installation into your 2005-2008 Chrysler 300/300C . This information outlines the wires location, color and polarity to help you identify the proper connection spots in the vehicle. Please be sure to test all of your wires with a ...

Free Wiring Diagrams intended for 2005 Chrysler 300 Wiring Diagram, image size 800 X 564 px, and to view image details please click the image. Here is a picture gallery about 2005 chrysler 300 wiring diagram complete with the description of the image, please find the image you need.

2005 chrysler 300 wiring diagram

2005 chrysler 300 wiring diagram

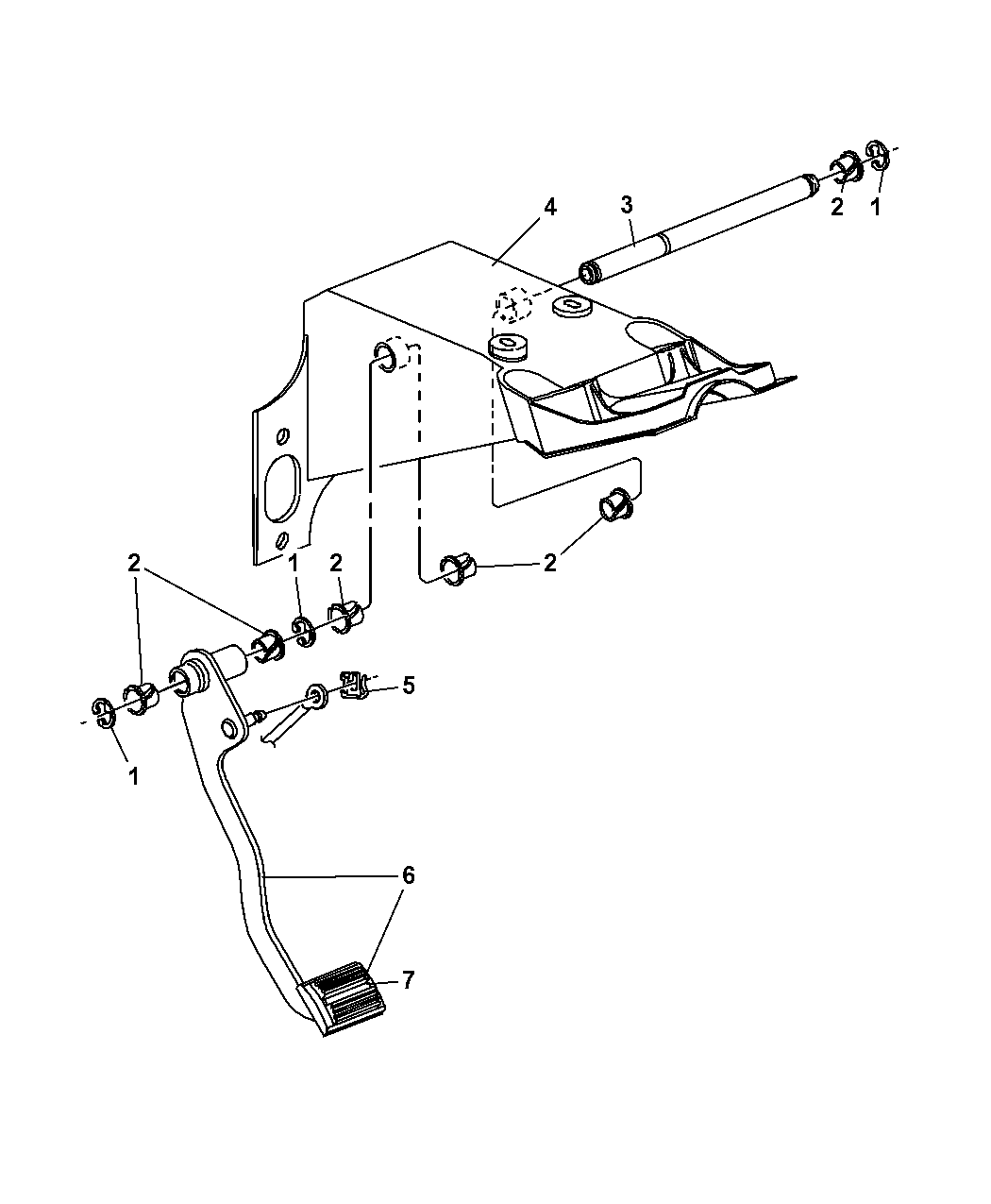
2005 Chrysler 300C Stereo Wiring - Need some help. Looking for a wiring diagram of the stock radio with seven speakers. If you have any information please email me at sportsfan07_7@hotmail.com . ... Looking for a wiring diagram of the stock radio with seven speakers. If you have any information please email me at sportsfan07_7@hotmail.com. I'm ... Make: Chrysler. Model: 300C. Year: 2005-07. In Dash Application. Wire Color Codes. Speaker Notes. Front. Speaker Sizes. Rear. Chrysler 300C.2 pages The wiring diagram to the taillights of a 2005 Toyota Tacoma can be found in its maintenance manual. When to service the wiring harness in a 2005 chrysler pacifica? The wiring will not need ...

2005 chrysler 300 wiring diagram. 2005 Chrysler 300 Car Stereo Wiring Diagram. The radio harness does not provide a switched power source. Run a wire to the fuse box for switched power. Use a Car Radio Wire Harness and Car Radio Dash Kit for an Easy Car Radio Install! Use an Amp Integration Harness to Connect Your Factory Amplifier to an aftermarket radio. Chrysler 300/300C (2005 - 2010) - fuse box diagram. Year of production: 2005, 2006, 2007, 2008, 2009, 2010. Luggage Compartment Fuse Box Chrysler 300/300M ... SOURCE: i need a wiring diagram for a chrysler 300 2006. You can get wiring diagrams and a complete factory service manual (including transmission) that covers every serviceable part from Promanuals fairly cheap. Here is a link Chrysler 300. Highly recommend! Posted on Sep 28, 2009 2005 Chrysler 300 Dodge Magnum Wiring Diagram Manual Original. Price: $ 109.00. Additional info (Leave blank for none): The product is currently out of stock. Price subject to change. Email a friend; Tweet. Description More Details Customer Reviews Model-Years Covered ...

Chrysler 300C Workshop Manual PDF Free Download & View Online Manual. This manual contains maintenance and repair procedures for the 300C. Hi @HemiBill, Don't know the answer but here's a link to the Chrysler 300C 2004-2010 Complete Service Repair Manual + Wiring Diagrams.. Click on the Electronic Control Modules link to get to the relevant section of the manual.. Select fullscreen mode to make it easier to view and if it is useful, there is a download link in the top right corner of the page, so that you can access it easier ... Chrysler Wiring Diagrams. ... Wiring diagram of the generator (engine 2,6) Scheme of connections of the generator (engines 3,0 and 3,3) ... It was originally launched as a five-door hatchback, to which a two-door convertible was added in 2005. The open-top version was equipped with a "sports protection" system that allowed air flow over the ... Chrysler 300 Wiring Diagram - Is the approach of preparing the electric system of your car and offers all the essential information to the auto mechanic. There are different kinds of car wiring diagrams nevertheless it is advisable to use only the car wiring diagram that is produced by a certified wiring company or electric professional so as to prevent uncertainty.

2.7L, Engine Performance Wiring Diagram, Early Production without Autostick (3 of 5) for Chrysler 300 Limited 2006. Get Access all wiring diagrams car. Chrysler - 300 - Wiring Diagram - 2005 - 2005 Updated: December 2021. Show full PDF. Get your hands on the complete Chrysler factory workshop software £9.99 Download now . Check out our popular Chrysler 300 Manuals below: 2006-2008--Chrysler--300--6 Cylinders R 2.7L MFI DOHC--33238801. JEEP Car Manuals PDF & Wiring Diagrams above the page - Grand Cherokee, Liberty, Wrangler, Compass, WK, WJ, Patriot, JEEP Cars EWDs - Grand Cherokee, CJKJ, TJ, Cherokee; Jeep Fault Codes DTC.. It appearance was due to the requirements of the WW2, at a time when the US Army has contracted with three car manufacturers in order to create a durable and … Volkswagen Passat Current Flow Electrical Wiring Diagram Volkswagen Passat Sedan 4Motion (AWD) W8-4.0L (BDP) 2002 – Electrical Wiring Diagrams Volkswagen Passat Self-study programme 346 – Electric Parking Brake

2005 Chrysler 300 Fuse Diagram submited images | Pic2Fly

2005 Chrysler 300 Fuse Diagram submited images | Pic2Fly

300 General Discussion (1st Gen - 2005 to 2010) Headlight Wiring diagram -300C SRT8 If this is your first visit, be sure to check out the FAQ by clicking the link above.

Wiring Diagram 2005 Dodge Magnum - Complete Wiring Schemas

Wiring Diagram 2005 Dodge Magnum - Complete Wiring Schemas

Feb 22, 2021 - 2007 Chrysler 300 Radio Wiring Diagram . Unique 2007 Chrysler 300 Radio Wiring Diagram . 2006 Chevy Silverado Radio Wiring Diagram Valid Wiring Diagram for. Chrysler 300 Stereo Wiring Diagram Interkulinterpretor. 2005 Chrysler 300 Radio Wiring Diagram Enthusiast Wiring Diagrams •

Wiring Diagram 07 5.7l Chrysler 300c

Wiring Diagram 07 5.7l Chrysler 300c

2005 Chrysler 300 Wiring Diagram Chrysler Wiring Diagram Stereo inside 2005 Chrysler 300 Wiring Diagram by admin Through the thousand pictures online about 2005 chrysler 300 wiring diagram, picks the very best collections using ideal image resolution just for you, and now this images is considered one of pictures choices in our finest photos gallery concerning 2005 Chrysler 300 Wiring Diagram.

70 New 2005 Chrysler 300 Starter Wiring Diagram | Chrysler ...

70 New 2005 Chrysler 300 Starter Wiring Diagram | Chrysler ...

Chrysler 300 wiring diagram 2005 2005. Radio battery constant 12v wire. Fluid level switch sense wiper high low relay door mode relay output window defogger relay accessory relay output booster fan relay output. 2005 chrysler pacifica stereo wiring information.

2005 Chrysler 300 Dodge Magnum Wiring Diagram Manual Original

2005 Chrysler 300 Dodge Magnum Wiring Diagram Manual Original

2005 Chrysler Town And Country Wiring Diagram Pdf - 2005 chrysler town and country wiring diagram pdf, Every electrical arrangement consists of various diverse parts. Each part should be set and linked to other parts in particular way. Otherwise, the structure won't work as it ought to be.

Chrysler Spark Plug Wiring Diagram - Wiring Diagram

Chrysler Spark Plug Wiring Diagram - Wiring Diagram

Mercedes - 230 - Wiring Diagram - 1994 - 1994 Mercedes - Auto - mercedes-benz-c-class-2015-kezelesi-utmutato-82147 Mercedes - E 300 - Workshop Manual - 1998 - 1998

white tower

white tower

I have a 2005 Chrysler 300c no manual/ fuse diagram. The driver side HID headlight is out. I checked it out by moving it to the rightside and it works so I know it's not the bulb. Is there a fuse or w … read more. Chris. 17,681 satisfied customers. 2005 chrysler 300 touring: headlights randomly goes..control module.

22 2005 Chrysler 300 Wiring Diagram - Wiring Diagram Info

22 2005 Chrysler 300 Wiring Diagram - Wiring Diagram Info

Download, print or view the 2005 Chrysler 300 Wiring Diagram PDF for free. ServicingManuals.com stores hard to find repair manuals for everyone to search and view.

person walking on street in between builsing

person walking on street in between builsing

All wiring diagrams for chrysler 300 car pdf manual air conditioning c 2007 instrument cer radio 2006 system stereo audio stock help 300c pinouts ru no power at fuse 06 limited tail lights 2005 serpentine belt All Wiring Diagrams For Chrysler 300 Limited 2006 Cars Chrysler Car Pdf Manual Wiring Diagram Fault Codes Dtc […]

35 2005 Chrysler 300 Parts Diagram - Wiring Diagram Database

35 2005 Chrysler 300 Parts Diagram - Wiring Diagram Database

Mercedes Sprinter The Sprinter is a vehicle built by Daimler AG of Stuttgart, Germany as a van, chassis cab, minibus, and pickup truck. The Sprinter is also available as the 316/416/516 NGT - Compressed Natural Gas (CNG).

2005 Chrysler 300 Cooling Fan Wiring Diagram - Wiring Schema

2005 Chrysler 300 Cooling Fan Wiring Diagram - Wiring Schema

Chrysler PDF Workshop and Repair manuals, Wiring Diagrams, Spare Parts Catalogue, Fault codes free download. Repair manuals for Chrysler, as well as manuals for the operation and maintenance of Chrysler vehicles equipped. These workshop manuals include detailed information on checking, repairing and adjusting the elements of the petrol engine ...

men's black crew-neck shirt and white fur coat

men's black crew-neck shirt and white fur coat

Whether your an expert Chrysler 300 car alarm installer, Chrysler 300 performance fan or a novice Chrysler 300 enthusiast with a 2005 Chrysler 300, a Chrysler 300 car alarm wiring diagram can save yourself a lot of time. One of the most time consuming tasks with installing an after market car alarm, car security, car […]

2004 Chrysler 300M Ac Wiring Diagram - Chrysler Wiring ...

2004 Chrysler 300M Ac Wiring Diagram - Chrysler Wiring ...

Save space on your device. Download. Visit. Save. 2005 Chrysler 300 Wiring Diagram Radios, Jeep Wrangler Engine, Trailer Wiring Diagram, 2011.

2005 Chrysler 300 Stereo Wiring | Wiring Diagram Database

2005 Chrysler 300 Stereo Wiring | Wiring Diagram Database

The new generation of the "300" model (in some countries it was referred to exclusively as "300C") replaced the Chrysler 300M - a full-size sedan, manufactured from 1998 to 2004.It was executed in four versions: 300 (base) with the volume of the engine of 2,7 l. and 6 cylinders; Touring or Limited - 3.5 liters.

Fuse Box Diagram For 2005 Chrysler 300 - Wiring Diagram

Fuse Box Diagram For 2005 Chrysler 300 - Wiring Diagram

MERCEDES BENZ W210 Wiring Diagrams 1995-2001 W210 Starter and Generator (Engines 104, 111, 604, 605, 606) Wiring Diagram W210 Speed Signal of the Front Axle (GES) (Engines 104, 111, 602, 604, 605, 606) Schematics

Chrysler 300 2005 Fuse Box | schematic and wiring diagram

Chrysler 300 2005 Fuse Box | schematic and wiring diagram

2005 Chrysler 300 Wiring Diagram - wiring diagram is a simplified usual pictorial representation of an electrical circuit. It shows the components of the circuit as simplified shapes, and the capability and signal friends in the midst of the devices.

[DIAGRAM] 2005 Chrysler 300c Wiring Diagram FULL Version ...

[DIAGRAM] 2005 Chrysler 300c Wiring Diagram FULL Version ...

Jun 14, 2015 — Or jumper from the right head to the similar wire on the back of the left head. 2005 300C BRILLIANT BLACK, DRL, Mesh Grill/Vents, Chrome Pillars ...

person holding red metal frame

person holding red metal frame

2005 Chrysler 300 Wiring Diagram View. ServicingManuals.com. This website is a free online resource that stores PDF service manuals for popular cars. Using a community of helpers we source the documents and index them into manufacturers and models so you can easily find the right one.

2005 Chrysler Pacifica Serpentine Belt Diagram ...

2005 Chrysler Pacifica Serpentine Belt Diagram ...

Chrysler - 300 - Wiring Diagram - 2005 - 2005 1996-1999 Chrysler Voyager GS Service Repair Manual PDF 1999-2006--Chrysler--Sebring--4 Cylinders Y 2.0L FI DOHC--32537002

26 06 Chrysler 300 Fuse Box Diagram - Wire Diagram Source ...

26 06 Chrysler 300 Fuse Box Diagram - Wire Diagram Source ...

AIR CONDITIONING Automatic A/C Wiring Diagram (1 of 2) for Chrysler 300 C 2005 Automatic A/C Wiring Diagram (2 of 2) for Chrysler 300 C 2005 Manual A/C Wiring Diagram (1 of 2) for Chrysler 300 C 2005 Manual A/C Wiring Diagram (2 of 2) for Chrysler 300 C 2005ANTI-LOCK All Wiring Diagrams for Chrysler 300 C 2005

[DIAGRAM] 2005 Chrysler 300 Wiring Jumper Multiple ...

[DIAGRAM] 2005 Chrysler 300 Wiring Jumper Multiple ...

The wiring diagram to the taillights of a 2005 Toyota Tacoma can be found in its maintenance manual. When to service the wiring harness in a 2005 chrysler pacifica? The wiring will not need ...

2005 Chrysler 300 Fuse Box Manual - Cars Wiring Diagram

2005 Chrysler 300 Fuse Box Manual - Cars Wiring Diagram

Make: Chrysler. Model: 300C. Year: 2005-07. In Dash Application. Wire Color Codes. Speaker Notes. Front. Speaker Sizes. Rear. Chrysler 300C.2 pages

35 Chrysler 300 Stereo Wiring Diagram - Wire Diagram ...

35 Chrysler 300 Stereo Wiring Diagram - Wire Diagram ...

2005 Chrysler 300C Stereo Wiring - Need some help. Looking for a wiring diagram of the stock radio with seven speakers. If you have any information please email me at sportsfan07_7@hotmail.com . ... Looking for a wiring diagram of the stock radio with seven speakers. If you have any information please email me at sportsfan07_7@hotmail.com. I'm ...

2005 Chrysler 300 stereo wiring diagram

2005 Chrysler 300 stereo wiring diagram

yellow blue and black coated wires

yellow blue and black coated wires

2005 Chrysler 300 Fuse Box Diagram — UNTPIKAPPS

2005 Chrysler 300 Fuse Box Diagram — UNTPIKAPPS

2005 Chrysler 300 Radio Wiring Diagram - MotoGuruMag

2005 Chrysler 300 Radio Wiring Diagram - MotoGuruMag

2005 Chrysler 300 Stereo Wiring | Wiring Diagram Database

2005 Chrysler 300 Stereo Wiring | Wiring Diagram Database

Chrysler 300 Wiring. Rear fascia - 05059133AA | Chrysler ...

Chrysler 300 Wiring. Rear fascia - 05059133AA | Chrysler ...

Fuse Box Diagram For 2005 Chrysler 300 - Wiring Diagram

Fuse Box Diagram For 2005 Chrysler 300 - Wiring Diagram

white concrete building under clear sky during daytime

white concrete building under clear sky during daytime

Chrysler 300 Speaker Wiring Diagram - Wiring Diagram

Chrysler 300 Speaker Wiring Diagram - Wiring Diagram

2005 Chrysler 300 Stereo Wiring | Wiring Diagram Database

2005 Chrysler 300 Stereo Wiring | Wiring Diagram Database

black and gray tower beside body of water at daytime

black and gray tower beside body of water at daytime

2005 Chrysler 300 stereo wiring diagram

2005 Chrysler 300 stereo wiring diagram

2005 Chrysler 300 Wiring Diagram | Jeep grand cherokee ...

2005 Chrysler 300 Wiring Diagram | Jeep grand cherokee ...

person standing near trees and plants

person standing near trees and plants

Chrysler 300 Stereo Wiring Diagram - Database - Wiring ...

Chrysler 300 Stereo Wiring Diagram - Database - Wiring ...

05 Chrysler 300 Wiring Diagram | Wiring Diagram Database

05 Chrysler 300 Wiring Diagram | Wiring Diagram Database

0 Response to "39 2005 chrysler 300 wiring diagram"

Post a Comment

Iklan Atas Artikel

Iklan Tengah Artikel 1

Iklan Tengah Artikel 2

Iklan Bawah Artikel