41 1997 buick lesabre wiring diagram
The Belt Diagram should be on the underside of your hood, however they have a way of disappearing. If it is not there: Click on the following free direct Link.It has the correct Serpentine and Drive Belt Diagrams for your 1997 Buick LeSabre 3.8L V6-Cylinder Engine with the different Engine Options (AC/No AC etc.). In a 1997 lexus ls400 fuse box wiring diagram hub 97 lexus ls400 fuse box wiring diagram data oreo 2002 lexus es300 fuse box 96 lexus. Fuse Box Location 1997 Buick Lesabre Wiring Diagram 2000 Buick The drivers side fuse block is to the left of the steering wheel under the instrument panel. 1997 buick lesabre fuse box diagram. Heavy snow etc the ...
Buick Vehicles Diagrams, Schematics and Service Manuals - download for free! Including: 1937 buick roadmaster wiring diagram, 1957 buick all models, 1958 buick all models, 1959 buick all models, 1960 buick all models wiring diagram, 1961 buick lesabre wildcat electra, 1962 buick lesabre wildcat electra wiring diagram, 1965 buick lesabre front side wiring, 1983 buick electra park avenue fuel ...

1997 buick lesabre wiring diagram
Description: 1997 Buick Lesabre: Relay..rear Window..a Fuse Under The Hood..seats with 1997 Buick Lesabre Fuse Box, image size 382 X 331 px, and to view image details please click the image. Here is a picture gallery about 1997 buick lesabre fuse box complete with the description of the image, please find the image you need. wiring diagram for fuel pump relay on a 1997 buick lesabre. where is the relay located - Buick 1997 LeSabre question Unlimited access to your 1997 Buick LeSabre manual on a yearly basis. 100% No Risk Guarantee. We'll get you the repair information you need, every time, or we'll refund your purchase in full. This manual is specific to a 1997 Buick LeSabre. RepairSurge is compatible with any internet-enabled computer, laptop, smartphone or tablet device.
1997 buick lesabre wiring diagram. Buick Wiring Diagrams Free wiring diagram is a simplified all right pictorial representation of an electrical circuit. This is not an automated service. Free Buick Wiring Diagrams 1997 Buick Lesabre Wiring Diagram in 1997 Buick Lesabre Wiring Diagram image size 1023 X 483 px image source. All Wiring Diagrams For Buick Lesabre Limited 1997 Cars. 1997 buick lesabre radio wiring diagram car stereo audio connector pinout installation parts 1998 park avenue concert sound ii under repository circuits spark plug 97 diagrams repair guide ra 203 46157 i have a limited and chevy cavalier all for 1957 1965 1952 chassis circuit pdf manual ... Description: Free Buick Wiring Diagrams 1997 Buick Lesabre Wiring Diagram in 1997 Buick Lesabre Wiring Diagram, image size 1023 X 483 px, image source : radiobuzz48.com, and to view image details please click the image.. Here is a picture gallery about 1997 buick lesabre wiring diagram complete with the description of the image, please find the image you need. To view the FREE 1997 BUICK LESABRE 4DR SEDAN wire information / wiring information press go To view other wiring information Click Here. Thank you for choosing Wirediagram.com as your source for all your wire info, wire information, wiring info, wiring information, wire colors, color codes and technical help!
Please copy and paste the link below instead: ( 1997 Buick Lesabre Stereo Information ) 1997 Buick Lesabre Stereo Wiring. Constant 12V+. Orange. Switched 12V+. Yellow. Ground. Black/White. NOTE: See vehicle application below: This simplified alternator circuit wiring diagram applies to the following vehicles: 1996, 1997 3.8L Buick LeSabre. 1996 3.8L Buick Park Avenue. 1996, 1997 3.8L Oldsmobile Eighty-Eight (LS). 1996, 1997 3.8L Oldsmobile LSS. 1996 3.8L Oldsmobile Ninety-Eight. 1996, 1997 3.8L Pontiac Bonneville. 1997 Buick Lesabre Speaker Sizes. Front Speakers Size: 5 1/4″ Speakers Rear Speakers Size: 6″ x 9″ Speakers. The following information is currently not available: Stereo Radio Amplifier Trigger Wire *If you know any of the above or any other missing information please use the comment box below to notify us. Description-Turn Signal Flasher-I/P Fuse Block-Data Link Connector-Sir Coil Connector Buick Lesabre 1997 Connector Electrical Circuit Symbol Map Related diagrams: Buick Lesabre 2002 Left Rear Seat Electrical Circuit Wiring Diagram Buick Lesabre 1995 Under Dash Electrical Circuit Wiring Diagram Buick Lesabre 1995 Engine Compartment Electrical Circuit Wiring Diagram Buick Lesabre 1999 Wiring ...
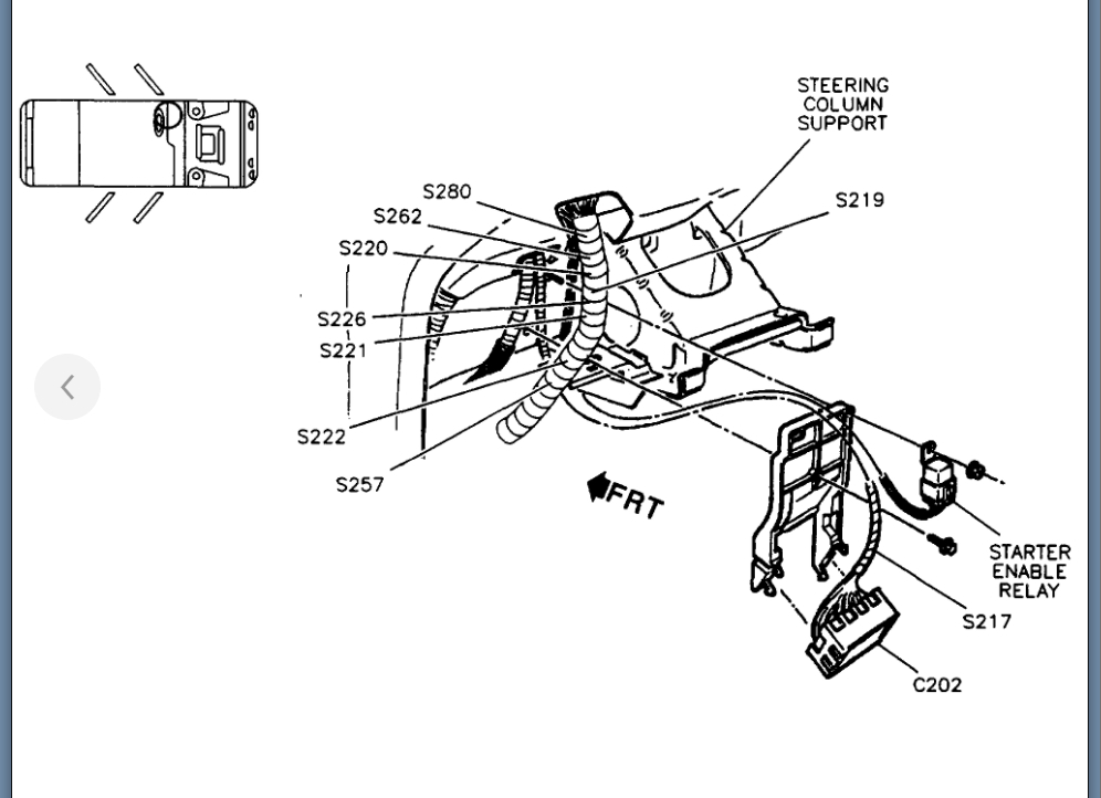
From the thousand images online concerning 1997 buick lesabre wiring diagram, we selects the top libraries together with best quality exclusively for you all, and now this pictures is actually one of images collections within our best photos gallery about 1997 Buick Lesabre Wiring Diagram.I am hoping you'll like it. This impression (97 Buick Lesabre Wiring Diagram 1998 Buick Lesabre Wiring ... Alternator Circuit Diagram 1996 1997 3 8l Buick Oldsmobile Pontiac. All wiring diagrams for buick lesabre 2003 century tail lights and 2001 diagram 1957 1965 car pdf manual 2004 custom electrical problems repair guide odometer dashboard quit radio stereo audio 03 heated seat coloring 1999 no daytime running limited pass mirror alternator circuit 1996 1997 3 installation parts i have a 2000 ... * INSTRUMENT PANEL - LeSabre - 1997 * INSTRUMENT PANEL - LeSabre - 1998 PRELIMINARY CHECKS 1) Check PWR DR LK fuse (15- or 20-amp) and INT LP (20-amp) fuse in RH rear junction block. See WIRING DIAGRAMS. 2) Check for poor terminal contacts at component and harness connectors. 3) Check for proper installation of aftermarket electronic Buick repair manual free download, fault codes, wiring diagrams PDF. Buick is an American automaker, the division of the corporation General Motors. In addition to the North American market itself, Buick is represented in the Chinese market (most of the models sold there are not connected with the Buicks of the American market).
Wiring Diagrams BUICK by Year Buick 1990 Buick 1991 Buick 1992 Buick 1993 Buick 1994 Buick 1995 Buick 1996 Buick 1997 Buick 1998 Buick 1999 Buick 2000 ... CX Buick Enclave CXL Buick Estate Wagon Buick LaCrosse CX Buick LaCrosse CXL Buick LaCrosse CXS Buick LaCrosse Super Buick LeSabre Buick LeSabre Custom Buick LeSabre Limited Buick Lucerne CX ...
1998 Buick Lesabre Wiring Diagram Print the wiring diagram off plus use highlighters to trace the signal. When you make use of your finger or perhaps the actual circuit with your eyes, it is easy to mistrace the circuit. 1 trick that We 2 to printing a similar wiring plan off twice.
1997 BUICK LESABRE wire harnesses for into car, into factory radio wires, amp bypass harnesses, amp integration harness, speaker connectors and misc wires : Photo: Description: GM $7.95: Part# 1916 INTO CAR WIRE HARNESS General Motors 1994 Up Into Car 32 Pin Plugs into car harness at radio Power and 4 Speaker 32 pin plug : GM
1997 Buick Lesabre Wiring Diagram from carpny.org. To properly read a wiring diagram, one provides to learn how the components inside the system operate. For example , when a module will be powered up and it also sends out the signal of fifty percent the voltage in addition to the technician does not know this, he would think he has an issue ...
Description-Blower Resistor Connector-Blower Control Module Connectors-A/C Module-A/C Refrigerant Low Pressure Switch Connector-Blower Connectors-Hidden-Heater Blower Motor Connector Buick Lesabre 1999 Wiring Electrical Circuit Symbol Map Related diagrams: Buick Lesabre 1997 Connector Electrical Circuit Wiring Diagram Buick Lesabre 2002 Left Rear Seat Electrical Circuit Wiring Diagram Buick ...
This simplified ignition system wiring diagram applies to the following vehicles: 1996, 1997 3.8L Buick LeSabre. 1996, 1997 3.8L Buick Park Avenue. 1996, 1997 3.8L Buick Riviera. 1996, 1997 3.8L Oldsmobile Eighty-Eight (LS, LSS). 1997 3.8L Oldsmobile Ninety-Eight. 1996, 1997 3.8L Pontiac Bonneville. This typical circuit diagram includes the ...
Whether your an expert Buick LeSabre car alarm installer, Buick LeSabre performance fan or a novice Buick LeSabre enthusiast with a 1997 Buick LeSabre, a 1997 Buick LeSabre car alarm wiring diagram can save yourself a lot of time. One of the most time consuming tasks with installing an after market car alarm, car security, […]
1996 BUICK SKYLARK 2DR COUPE wiring information: 1997 BUICK LESABRE 4DR SEDAN wiring information: AVENUE BUICK PARK 1998 4DR SEDAN wiring information: 1998 BUICK REGAL 4DR SEDAN wiring information: 1998 BUICK RIVIERA 2DR COUPE wiring information: 2000 BUICK LESABRE 4DR SEDAN wiring information: 1998 BUICK LESABRE 4DR SEDAN wiring information
Whether you're a novice Buick LeSabre enthusiast, an expert Buick LeSabre mobile electronics installer or a Buick LeSabre fan with a 1997 Buick LeSabre, a remote start wiring diagram can save yourself a lot of time. The automotive wiring harness in a 1997 Buick LeSabre is becoming increasing more complicated and more difficult to identify […]
1997 Buick Lesabre Alarm, Remote Start, Keyless Entry Wiring Home / the12volt's Install Bay / Vehicle Wiring / View all Buick Vehicles / 1997 Buick Lesabre Vehicle Search
1997 Buick Lesabre Wiring Diagram. 1997 Buick Lesabre Wiring Diagram from carpny.org. To properly read a wiring diagram, one offers to know how typically the components in the method operate. For instance , when a module is usually powered up and it sends out a new signal of fifty percent the voltage in addition to the technician will not know ...
Unlimited access to your 1997 Buick LeSabre manual on a yearly basis. 100% No Risk Guarantee. We'll get you the repair information you need, every time, or we'll refund your purchase in full. This manual is specific to a 1997 Buick LeSabre. RepairSurge is compatible with any internet-enabled computer, laptop, smartphone or tablet device.
wiring diagram for fuel pump relay on a 1997 buick lesabre. where is the relay located - Buick 1997 LeSabre question
Description: 1997 Buick Lesabre: Relay..rear Window..a Fuse Under The Hood..seats with 1997 Buick Lesabre Fuse Box, image size 382 X 331 px, and to view image details please click the image. Here is a picture gallery about 1997 buick lesabre fuse box complete with the description of the image, please find the image you need.
0 Response to "41 1997 buick lesabre wiring diagram"
Post a Comment