Iklan 300x250

38 john deere 2 cylinder engine diagram

John Deere Model GT235 Lawn and Garden Tractor Parts - Location of the Product Identification number (serial number) john deere model: 830 utility 3 cylinder this is a manual produced by jensales inc. without the authorization of john deere or it's successors. john deere and it's successors are not responsible for the quality or accuracy of this manual. trade marks and trade names contained and used herein are those of others,

The Professional Series™ ride mower engine -- single cylinder and V-twin engines offer the best of both worlds: world-class endurance and power, meeting both...

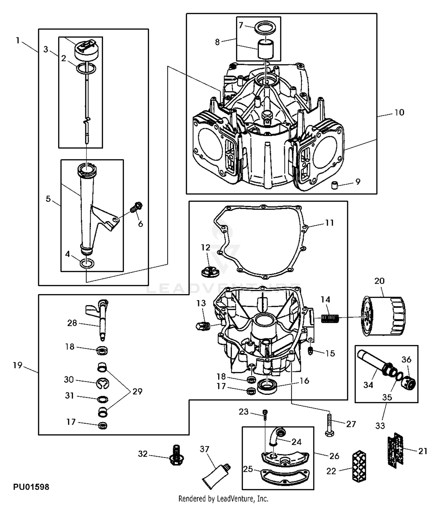
John deere 2 cylinder engine diagram

John deere 2 cylinder engine diagram

October 20, 2018 - I grew up with older farmalls and newer IH and John Deere Tractors. I only ever got around the old 2 cylinder tractors at tractor pulls. In the last John Deere AG, Lawn & Garden and CWP Equipment Parts Search. John Deere parts lookup tool and diagram is an incredible online source. It is a complete catalog that shows you detailed parts diagrams of every part of your machine. This online parts catalog is robust and easy to use. Searching for your John Deere parts online has never been easier. -- Group parts not supplied with engine. * These units used John Deere 4239TL engines on early model 50/60 kW (serial numbers below 257821) generator sets and John Deere 4039TL/CD4039TF engines on newer model 50/60 kW (serial number 257821 and above) generatorsets. Check thegenerator setnameplate forthe

John deere 2 cylinder engine diagram. February 8, 2019 - An inside look into how John Deere defied strong industry trends in order to survive the agricultural depression and meet customer needs. Description: Hydrostatic Motor/brake Components (2-Speed) – Engine, Powertech in John Deere 2 Cylinder Engine Diagram, image size 600 X 726 px, and to view image details please click the image.. Here is a picture gallery about john deere 2 cylinder engine diagram complete with the description of the image, please find the image you need. 1 valves, rotate the flywheel one-half turn and adjust No. 2 valves in the same manner. Be sure to make the final adjustment with engine at operating ...47 pages Learn about John Deere industrial diesel engines which are built with responsive power to give you fluid efficiency and day-to-day reliability.

John Deere Two-Cylinder Series. This chart shows the production years and horsepower of the John Deere Two-Cylinder tractors in the United States. Two-cylinder tractor production continued in Argentina until the 1970s. ©2000-2021 - TractorData.com™. Notice: Every attempt is made to ensure the data listed is accurate. 30 john deere 2 cylinder engine diagram. 26 john deere 2 cylinder engine diagram. We collect plenty of pictures about Wiring Diagram for 2 Cylindar John Deere. and finally we upload it on our website. Many good image inspirations on our internet are the most effective image selection for Wiring Diagram for 2 Cylindar John Deere. . Posts: 2240. Report to Moderator. Posted: Fri Apr 15, 2016 1:12 pm Post subject: Re: 2 cylinder exploded engine powertrain diagram. The picture shown is a Model "D" No other John Deere has a chain drive to reduction Gears. All other 2 cylinders are gears through out. Back to top. John Deere LUC stationary engine (missing the cover)

Engine Detail: John Deere: gasoline: 2-cylinder: liquid-cooled: Final engine. Used from serial number 640000 through the end of production: Displacement: 66.4 ci 1.1 L: Bore/Stroke: 3.25x4.00 inches 83 x 102 mm: Rated RPM: 1550: Firing order: 1-2: Coolant capacity: 10 qts 9.5 L Compact Utility Tractor with Gear Transmission · 790 Serial No. (190064 - ) John Deere two-cylinder engines use a "180-degree crank": The throws of the crankshaft are offset 180 degrees, so that when one piston is up, the other is down. That balances the internal dynamics of the engine--the inertia of one piston moving up is offset by the inertia of the other piston moving down, and the volume of air in the crankcase ... 2 Cylinder Electrical Service (And Wiring Diagrams) Brand Synonyms. John Deere, JD, Green, 2 Cylinder These are sample pages meant to give you an idea of the contents of your John Deere Service Manual. Select the delivery method option to receive the complete manual in a download, printed version, or for the best value Buy Both.

Sven And Sigrid Berg Haugen Johnson Family History

Sven And Sigrid Berg Haugen Johnson Family History

John Deere 10.5L & 12.5L Diesel Engines (Base Engine) Technical Manual (CTM100) John Deere 4.5L and 6.8L Diesel Engines Component Technical Manual (CTM104) John Deere 6.8L and 8.1L, 6068 and 6081 Diesel Engines Level 3 Electronic Fuel Systems with Bosch In-Line Pump Technical Manual (CTM134)

John Deere Engine Marked 407777 0283 G1 Gu20939 Cylinder Block And Dipstick 2

John Deere Engine Marked 407777 0283 G1 Gu20939 Cylinder Block And Dipstick 2

John Deere Fax: 256-739-0471 Web: www.crosscreektractor.com Original part numbers for reference only. 115 Email: info@crosscreektractor.com s www.CrossCreekTractor.com Call Us: 1 (800) 462-7335 Engine, Overhaul Kits John Deere EOKJD3164B Engine Overhaul Kit Contains Sleeves, Pistons, Rings, Sleeve Seals, Piston Pin Bushings, Complete Gasket Set,

Jd Service Publications

Jd Service Publications

This engine was built by Yanmar for use in John Deere 650 compact tractors. The 2T80U-J engine is a 2 cylinder, water cooled, 17hp diesel engine built inJapan. The 80mm bore and long stroke give the tractor tons of torque and a distinctive 'Yanmmer Hammer" sound. The tractor was manufacturered between 1981 and 1989.

6135hf475 Industrial Diesel Engine John Deere Us

6135hf475 Industrial Diesel Engine John Deere Us

View what makes genuine John Deere engine parts the best choice to keep your machines running efficiently.

John Deere Tm1702 Technical Manual 9410 9510 9610 Combines Diagnosis Tests Manualexpert

John Deere Tm1702 Technical Manual 9410 9510 9610 Combines Diagnosis Tests Manualexpert

Watch our rebuild video on a Wico X type magneto found on John Deere 2 cylinder tractors. This how to video will take you thru the steps to rebuild your magn...

John Deere 325 328 Skid Steer Pc9348 Replacement Engine Engine 5030tt001 Re515930

John Deere 325 328 Skid Steer Pc9348 Replacement Engine Engine 5030tt001 Re515930

Why did they go with a 2 cylinder in a the Waterloo Boy? I don't know...probably inherited that design from steam engines? If Deere has been good at ...

3

3

John Deere Parts Diagrams, John Deere CT322 COMPACT TRACK LOADER (MANUFACTURED 2005-2009) -PC9492. 1101 Rocker Arm Cover: Engine 4024TT002-RE509089. 1104 ROCKER ARM COVER: Engine 4024TT002-RE509089. 12 VOLT DEMONSTRATION KIT: ELECTRICAL. 12 VOLT RECEPTACLE KIT: ELECTRICAL.

John Deere Se 6010 6110 6210 6310 6410 6510 6610 Repair Manual Tractor Youfixthis

John Deere Se 6010 6110 6210 6310 6410 6510 6610 Repair Manual Tractor Youfixthis

John Deere A and B tractors John Deere WW2 lease lend range --- five basic models D A B H and L Important Notice This document has been put together using motor trader service data sheets produced in 1945 and other information of unknown origin saved by my father as a reference.

20 Interesting Facts You May Not Know About John Deere Diesel Engines

20 Interesting Facts You May Not Know About John Deere Diesel Engines

John Deere Model A Tractor. Many Journal readers rely solely on horse or mule power. Quite a few use only tractors and a whole 'nother bunch prefer to combine power sources. A small group of farmer folk keep an old tractor around solely for belt power for such things as stationery threshing machines. A popular model for such jobs is the John ...

John Deere Model A Tractor Small Farmer S Journal

John Deere Model A Tractor Small Farmer S Journal

Restoration Supply Tractor Parts and www.tractorpart.com is a full service distributor of new tractor parts, rebuilt tractor parts, and reproduction tractor parts for John Deere 2 Cylinder tractors. Where to begin. Browse the pages above for John Deere 2 Cylinder parts.

Diesel Engine Technology Engines Drivetrain John Deere Us

Diesel Engine Technology Engines Drivetrain John Deere Us

The John Deere 301A is a 2WD industrial tractor manufactured by John Deere in Dubuque, Iowa, USA from 1973 to 1981.. The John Deere 301A is equipped with one of two engines: a 2.5 L (152.0 cu·in) three-cylinder diesel engine or a 2.7 L (164.0 cu·in) three-cylinder gasoline engine and one of two transmissions: a collar shift transmission with 8 forward and 4 reverse gears and mechanical dry ...

Vtg 1942 Original John Deere Blue Print 2 Cylinder Br Tractor Engine Assembly 1839043392

Vtg 1942 Original John Deere Blue Print 2 Cylinder Br Tractor Engine Assembly 1839043392

Get the best deals on John Deere Tractor 2 Engine Cylinders when you shop the largest online selection at eBay.com. Free shipping on many items | Browse your favorite brands | affordable prices.

Jd Service Publications

Jd Service Publications

October 10, 2021 - The first Model D rode on steel ... centimetres)) two-cylinder hand-cranked engine rated 15 to 27 horsepower (11 to 20 kilowatts). It was not, however, the first tractor to bear the Deere name; as a number of Deere experimental tractors, and the John Deere Dain all-wheel drive ...

1939 John Deere B Block Antique Tractors Forum

1939 John Deere B Block Antique Tractors Forum

Engine 6-1/2″ bore x 7″ stroke, 750 r.p.m., 25.5 belt HP, travel speeds 2-1/3 and 3 mph forward, 2-1/4 mph reverse, using kerosene for fuel. In 1912, several of the Deere branch houses and dealers wanted a tractor to sell.

John Deere Gator 4x2 4x6 Utility Vehicle Repair Manual Pdf Download Heydownloads Manual Downloads

John Deere Gator 4x2 4x6 Utility Vehicle Repair Manual Pdf Download Heydownloads Manual Downloads

Basket. We have thousands of parts in stock just for your 2-Cylinder tractor! $1.00 Menu - Just Like McDonalds! - VALUE PRICED ITEMS!!! 3-Point Hitches, Drawbars and more... Air Stacks, Air Cleaners, Vent Tubes and more... Battery Boxes, Battery Trays and more...

File Ingersoll Rand Class Aa 2 Air Compressor Cross Section 1910 Png Wikipedia

File Ingersoll Rand Class Aa 2 Air Compressor Cross Section 1910 Png Wikipedia

John Deere E Hit & Miss Engine Ignitor for 1.5, 3 or 6hp engines. Completely rebuilt with new points & miica: $200.00: $250.00: John Deere E Hit & Miss engine magneto for the 1-1/2, 3 & 6 hp engines. Completely rebuilt magneto. $400.00: $500.00: John Deere Delco 1111558 Battery Distributor For A,B,G, 50, 60, 70 tractors. Completely rebuilt with ...

John Deere Model A Tractor Small Farmer S Journal

John Deere Model A Tractor Small Farmer S Journal

The early engines, especially the ... did the work, not each power stroke against the crankshaft like todays engines do. The math & physics enter into it because when John Deere designed the 2 cylinder engines, the did something unusual, they didn't spead out the strokes over ...

John Deere Model A Tractor Small Farmer S Journal

John Deere Model A Tractor Small Farmer S Journal

X540 John Deere Fuse Box Wiring Diagram Data Oreo John Deere Wiring Diagram Download. E E Tractor 55 engine HP. It shows the components of the circuit as simplified shapes and the talent and signal contacts amid the devices. Plugged crankcase vent tube. Collection of john deere wiring diagram download. It has grown from a blacksmith shop with only one person to a group company that now sells ...

John Deere 355d Lawn And Garden Tractor Service Manual Tm1771

John Deere 355d Lawn And Garden Tractor Service Manual Tm1771

Our experienced and friendly sales staff are available to help with any of your John Deere 820 tractor parts and engine parts needs. Call our toll-free customer support line today if you have any questions. 1-800-853-2651, available Monday - Friday, 7:00-3:30pm (PST) 9:00-5:30pm (CST) 10:00-6:30pm (EST). We have MANY John Deere 820 parts that ...

Electrical Turbocompound A Caterpillar Setup B John Deere Setup Download Scientific Diagram

Electrical Turbocompound A Caterpillar Setup B John Deere Setup Download Scientific Diagram

At almost every engine show someone advances the theory that the first 2 digits of the John Deere's serial number represents the year the engine was built. This is only a myth. John Deere Model E engines were numbered in succession without regard to the year, engine size, or engine type. Below is a list of John Deere serial numbers and years ...

3

3

An informational site about John Deere and John Deere tractors, including a database, classified ads, store, events list, and links. Weird Deere A web site about the industrial versions of the John Deere 2-cylinder tractors - the AI, BI, DI, LI, and MI. Forty-Twenty.com Not about 2-cylinder tractors, but the classic 4020.

John Deere 650 750 Tractors Technical Manual Pdf

John Deere 650 750 Tractors Technical Manual Pdf

The 1892 Froelich tractor is listed as 20 HP with a 14″ bore, 14″ stroke, single cylinder, vertical type engine. The tractor had one forward speed (approx. 2-1/ ...

Two Cylinder Air Cooled Engine

Two Cylinder Air Cooled Engine

John Deere Parts Diagrams, John Deere 5205 Tractor -PC2767. AIR CLEANER: FUEL & AIR. Air Duct: Engine 3029DLV51-RE517020. Air Duct: Engine 3029DLV52-RE507551. Air Duct: Engine 3029DLV56-RE522551. Air Duct: Engine 3029DLV57-RE522552. AIR DUCT: FUEL & AIR. AIR INTAKE HEATER OPTIONAL: FUEL & AIR.

Stammiz Com

Stammiz Com

John Deere A B G H 50 60 Rear Light Red Jewel Bulb * 6V or 12V Code: A191 Price: $0.99 100 available for immediate delivery Quantity in Basket: none

Industrial Diesel Engines John Deere Us

Industrial Diesel Engines John Deere Us

Spencer YostThe accompanying diagram will help you identify the margin and face . ... Depending on the number of hours on your tractor's engine and how recently any ...

John Deere Powertech 2 4l 3 0l Diesel Engines Ctm301

John Deere Powertech 2 4l 3 0l Diesel Engines Ctm301

John Deere Parts Diagrams John Deere GUN HOLDER OPTIONAL. John Deere Parts Diagrams John Deere THREE POINT HITCH KIT. We collect lots of pictures about John Deere 2 Cylinder Engine Diagram. and finally we upload it on our website. Many good image inspirations on our internet are the best image selection for John Deere 2 Cylinder Engine Diagram.

John Deere Series 6076 Diesel Engines Check And Adjust Valve Clearance

John Deere Series 6076 Diesel Engines Check And Adjust Valve Clearance

Our experienced and friendly sales staff are available to help with any of your John Deere 70 tractor parts and engine parts needs. Call our toll-free customer support line today if you have any questions. 1-800-853-2651, available Monday - Friday, 7:00-3:30pm (PST) 9:00-5:30pm (CST) 10:00-6:30pm (EST).

Animated Two Cylinder

Animated Two Cylinder

-- Group parts not supplied with engine. * These units used John Deere 4239TL engines on early model 50/60 kW (serial numbers below 257821) generator sets and John Deere 4039TL/CD4039TF engines on newer model 50/60 kW (serial number 257821 and above) generatorsets. Check thegenerator setnameplate forthe

T Head Engine Wikipedia

T Head Engine Wikipedia

John Deere AG, Lawn & Garden and CWP Equipment Parts Search. John Deere parts lookup tool and diagram is an incredible online source. It is a complete catalog that shows you detailed parts diagrams of every part of your machine. This online parts catalog is robust and easy to use. Searching for your John Deere parts online has never been easier.

John Deere 4010 Wiring Diagram Weloveothers

John Deere 4010 Wiring Diagram Weloveothers

October 20, 2018 - I grew up with older farmalls and newer IH and John Deere Tractors. I only ever got around the old 2 cylinder tractors at tractor pulls. In the last

Pin On Favorite Places Spaces

Pin On Favorite Places Spaces

John Deere B 1952 Hand Start Yesterday S Tractors

John Deere B 1952 Hand Start Yesterday S Tractors

John Deere Tractors During The 1950s And 60s

John Deere Tractors During The 1950s And 60s

John Deere Service Bulletins For 2 Cylinder Tractors Digital Online Access Green Magazine

John Deere Service Bulletins For 2 Cylinder Tractors Digital Online Access Green Magazine

John Deere Tractors During The 1950s And 60s

John Deere Tractors During The 1950s And 60s

John Deere Model A Tractor Small Farmer S Journal

John Deere Model A Tractor Small Farmer S Journal

Practical Machinist Largest Manufacturing Technology Forum On The Web

Practical Machinist Largest Manufacturing Technology Forum On The Web

Tractors

Tractors

0 Response to "38 john deere 2 cylinder engine diagram"

Post a Comment

Iklan Atas Artikel

Iklan Tengah Artikel 1

Iklan Tengah Artikel 2

Iklan Bawah Artikel